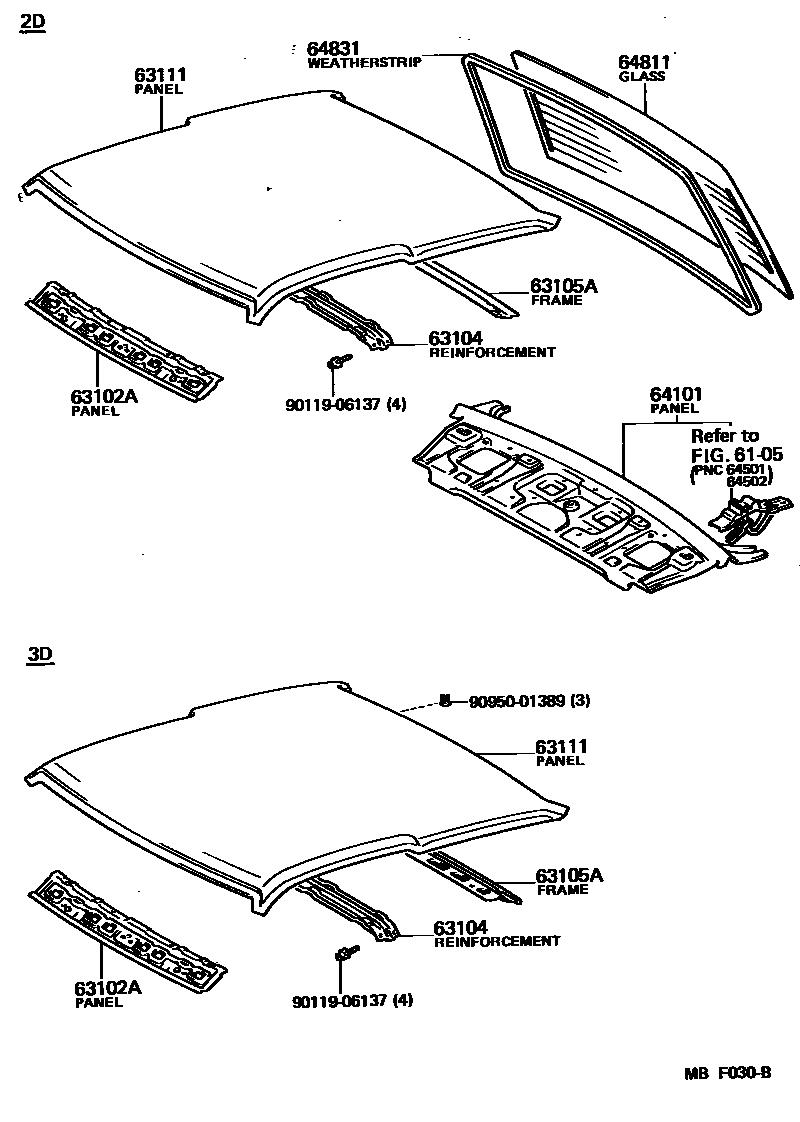
ROOF PANEL & BACK WINDOW GLASS

6105
63102APANEL SUB-ASSY, WINDSHIELD HEADER
63104REINFORCEMENT SUB-ASSY, ROOF PANEL, CENTER
63111PANEL, ROOF
W/O SUN ROOF
W/SUN ROOF
W/O SUN ROOF
W/SUN ROOF
64101PANEL SUB-ASSY, UPPER BACK
64811GLASS, BACK WINDOW
*EHTT,T=4.0
*EHTT,T=4.0,HEAVY TYPE
*TT,T=4.0
64831WEATHERSTRIP, BACK WINDOW GLASS
9011906137
main90119-06137
9095001389
main90950-01389
10 parts on this diagram · 2 diagrams in section