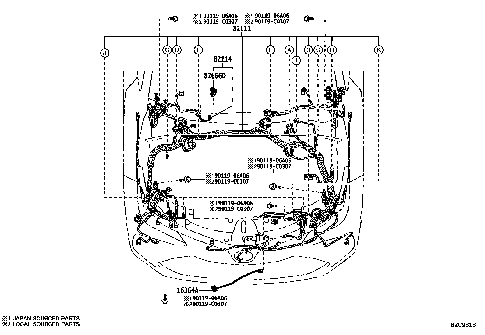
WIRING & CLAMP

16364AWIRE, COOLING FAN
82111WIRE, ENGINE ROOM MAIN
sub82116-0ZW50
HEADLAMP-LED & WITH(*AHB)
HEADLAMP-LED
sub82116-0ZX50
HEADLAMP-LED
HEADLAMP-LED
sub82116-0ZX60
SPORT PACKAGE
82114WIRE, ENGINE ROOM, NO.4
82666DHOLDER, CONNECTOR NO.5
9011906A06
main90119-06A06
90119C0307
main90119-C0307
6 parts on this diagram · 29 diagrams in section