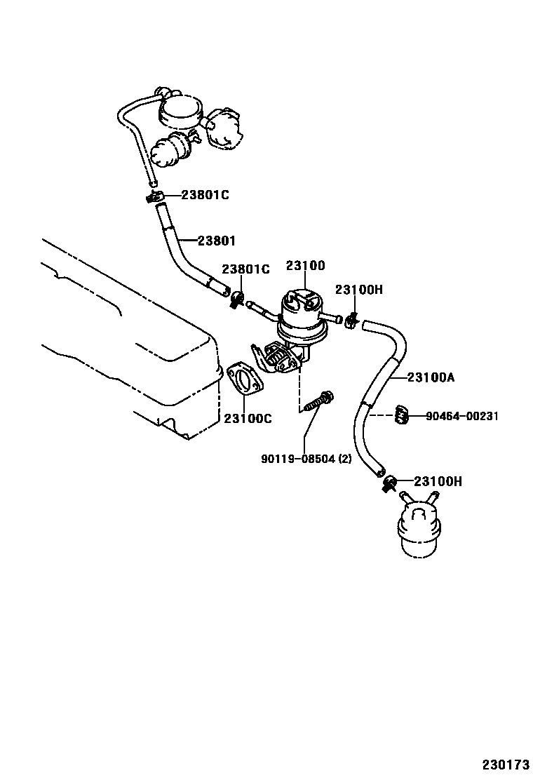
FUEL PUMP & PIPE

23100PUMP ASSY, FUEL
23100CINSULATOR, FUEL PUMP
23100HCLIP(FOR FUEL HOSE)
sub96132-51100
9011908504
main90119-08504
9046400231
main90464-00231
8 parts on this diagram · 2 diagrams in section

8 parts on this diagram · 2 diagrams in section