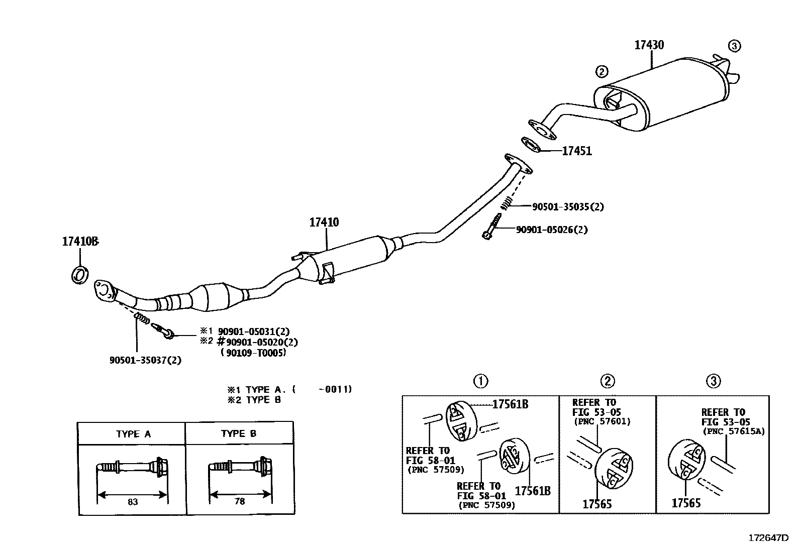
EXHAUST PIPE

17410PIPE ASSY, EXHAUST, FRONT
UNLEADED GASOLINE SPEC
UNLEADED GASOLINE SPEC
UNLEADED GASOLINE SPEC
UNLEADED GASOLINE SPEC
17410BGASKET, EXHAUST PIPE
17430PIPE ASSY, EXHAUST, TAIL
main17430-21150i2NZFE..NZE120..GCC;2NZFE..NZE120..RHD..GEN;1NZFE,3ZZFE..NZE121,ZZE121..GEN200008-200209
17451GASKET, EXHAUST PIPE
17561BSUPPORT, EXHAUST PIPE, NO.1
main17565-21030×2i1NZFE,3ZZFE..NZE121,ZZE121..GEN;2NZFE,1ZZFE..NZE120,ZZE122..GCC;2C,2NZFE,1ZZFE..CE120,NZE120,ZZE122..RHD..GEN200008-200209
17565SUPPORT, EXHAUST PIPE, NO.5
main17565-21040×2i1NZFE,3ZZFE..NZE121,ZZE121..GEN;2NZFE,1ZZFE..NZE120,ZZE122..GCC;2C,2NZFE,1ZZFE..CE120,NZE120,ZZE122..RHD..GEN200008-200209
5305
5801
90109T0005
main90109-T0005
9050135035
main90501-35035
9050135037
main90501-35037
9090105020
main90901-05020
9090105026
main90901-05026
9090105031
main90901-05031
14 parts on this diagram · 5 diagrams in section