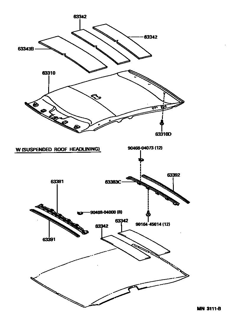
ROOF HEADLINING & SILENCER PAD

63310HEADLINING ASSY, ROOF
W(MOON ROOF),MEDIUM CHARCOAL,TRIM1#
sub63310-13350
main63310-1A450-B0iAE111..4FC..(MA,TH);AE112,EE111..SED..(GEN,IDN,MA,TH);AE111..RHD..SED..5F..(GLI,SEG,XLI)..(GEN,MA,TH)199505-200207
LT. GRAY,TRIM1#
sub63310-1A450
MEDIUM CHARCOAL,TRIM10,14
sub63310-1A590
MEDIUM CHARCOAL,TRIM1#
sub63310-1A590
MEDIUM CHARCOAL,TRIM1#,9#
sub63310-1A590
MEDIUM CHARCOAL,TRIM1#
MEDIUM CHARCOAL,TRIM10,14
MEDIUM CHARCOAL,TRIM1#,9#
W(MOON ROOF),MEDIUM CHARCOAL,TRIM1#
W(MOON ROOF),MEDIUM CHARCOAL,TRIM10,14
W(MOON ROOF),MEDIUM CHARCOAL,TRIM9#
W(MOON ROOF),MEDIUM CHARCOAL,TRIM1#,9#
W(MOON ROOF),MEDIUM CHARCOAL,TRIM1#
W(MOON ROOF),MEDIUM CHARCOAL,TRIM10,14
W(MOON ROOF),MEDIUM CHARCOAL,TRIM1#,9#
63310DCLIP, ROOF HEADLINING
main90467-05021-B6iCE110,EE110..XL..GEN;AE111..RHD..SED..(XL,XLI)..GEN;AE111..LHD..SED..(GL,XL,XLI)..GEN199704-199910
MD.CHARCOAL,TRIM10,14
sub90467-05021
sub90467-06177
main90467-05021-B6iEE110..LHD..3FC;CE110,EE110..5F..XL..GEN;AE111..RHD..SED..(XL,XLI)..GEN;AE111..LHD..SED..(GL,XL,XLI)..GEN199704-199910
W(MOON ROOF),MD.CHARCOAL,TRIM10,14
sub90467-05021
sub90467-06177
main90467-05021-B6iEE110..LHD..3FC;CE110,EE110..5F..XL..GEN;AE111..RHD..SED..(XL,XLI)..GEN;AE111..LHD..SED..(GL,XL,XLI)..GEN199704-200207
W(MOON ROOF),MD.CHARCOAL,TRIM1#
sub90467-05021
sub90467-06177
main90467-05021-B6iEE110..LHD..3FC;CE110,EE110..5F..XL..GEN;AE111..RHD..SED..(XL,XLI)..GEN;AE111..LHD..SED..(GL,XL,XLI)..GEN199704-200208
MD.CHARCOAL,TRIM1#
sub90467-05021
sub90467-06177
main90467-05021-P0iEE110..5F..GEN;EE110..LHD..3FC;AE111,CE110..SED..(GL,GLI,XL,XLI)..GEN199704-199910
W(MOON ROOF),SHADOW GRAY,TRIM10,14
sub90467-05021
sub90467-06177
main90467-05021-P0iEE110..5F..GEN;EE110..LHD..3FC;AE111,CE110..SED..(GL,GLI,XL,XLI)..GEN199704-199910
W(MOON ROOF),SHADOW GRAY,TRIM1#
sub90467-05021
sub90467-06177
MD.CHARCOAL,TRIM1#
W(MOON ROOF),MD.CHARCOAL,TRIM1#
MD.CHARCOAL,TRIM11,16
63342PAD, ROOF SILENCER, NO.2
main63342-12060iAE111..SEG..GEN;AE110,EE111..XLI..GEN;AE111..RHD..SED..5F..(GLI,XLI)..GEN199505-199910
PLANT NO. M12
63343BPAD, ROOF SILENCER, REAR
main63343-12050iAE112..LHD..SED..XLI;AE111,EE111..SED..(GL,GLI,STD,XL,XLI)..(ARL,GCC,GEN,GENKD,NZ,PHL,TUR,VEN);AE110,112,CE110,EE110..SED..(GL,GLI,SEG,STD,XL)..(ARL,BZ,GCC,GEN,GENK199505-200109
63381RETAINER, HEADLINING, FRONT
63383CRETAINER, ROOF HEADLINING TRIM, REAR
63391TRIM, ROOF HEADLINING, FRONT
IVORY,TRIM4#
LT.GRAY,TRIM1#
63392TRIM, ROOF HEADLINING, REAR
9016445014
main90164-45014
9046804008
main90468-04008
9046804073
main90468-04073
11 parts on this diagram · 5 diagrams in section