E
EPC Data

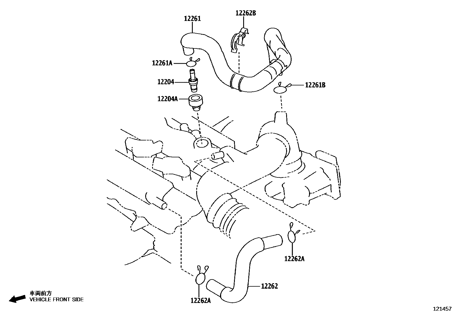
VENTILATION HOSE

Parts diagram
12204VALVE SUB-ASSY, VENTILATION
main12204-0Y020i202101-202306
12204AGROMMET(FOR VENTILATION SYSTEM)
main90480-T0013i202101-202306
12261HOSE, VENTILATION
main12261-0Y041i202101-202306
12261ACLIP OR CLAMP(FOR VENTILATION HOSE)
main90466-T0061i202101-202306
12261BCLIP OR CLAMP(FOR VENTILATION HOSE)
main90466-T0062i202101-202306
12262HOSE, VENTILATION, NO.2
main12262-0Y140i202101-202306
12262ACLIP(FOR VENTILATION HOSE NO.2)
main90466-T0027×2i202101-202306
12262BCLAMP(FOR VENTILATION HOSE)
main16581-47020i202101-202306

8 parts on this diagram · 1 diagram in section

VENTILATION HOSE — Toyota Parts Diagram with OEM Numbers & Prices | EPC Data