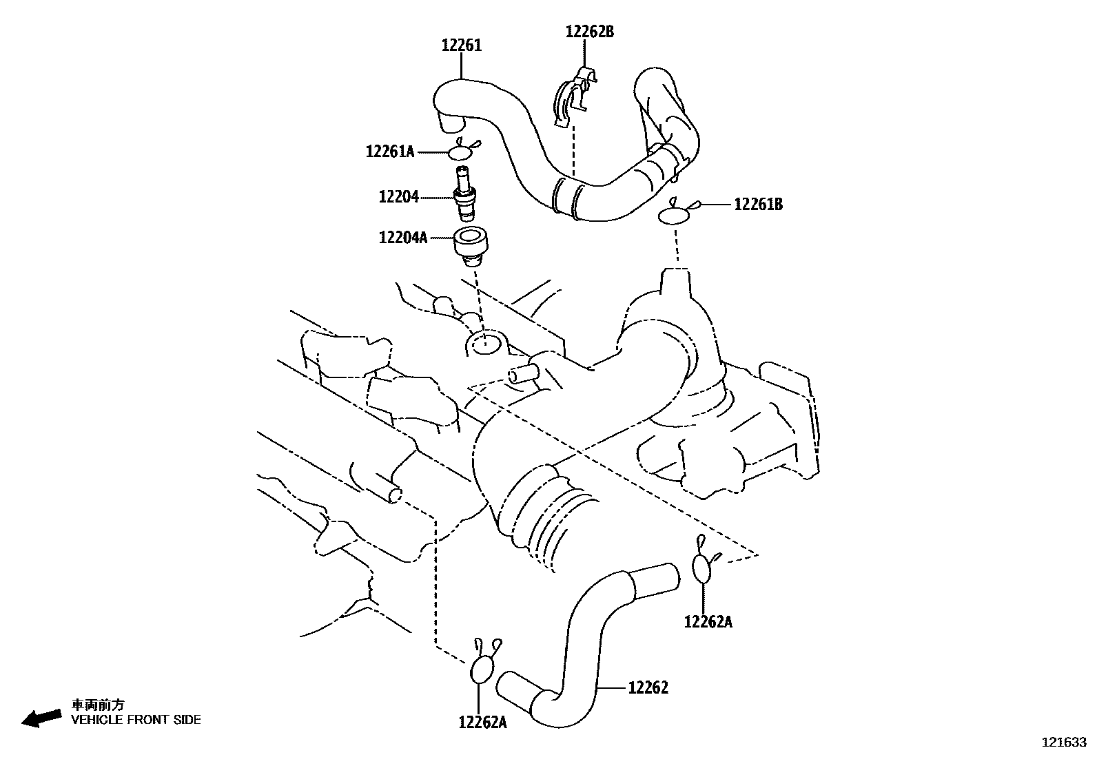
VENTILATION HOSE

12204VALVE SUB-ASSY, VENTILATION
*712 OR *432
*264
12204AGROMMET(FOR VENTILATION SYSTEM)
*712 OR *432
*264
12261HOSE, VENTILATION
*264
*712 OR *432
12261ACLIP OR CLAMP(FOR VENTILATION HOSE)
*712 OR *432
*264
12261BCLIP OR CLAMP(FOR VENTILATION HOSE)
*712 OR *432
*264
12262HOSE, VENTILATION, NO.2
MADE IN THAILAND
MADE IN VIETNAM
12262ACLIP(FOR VENTILATION HOSE NO.2)
12262BCLAMP(FOR VENTILATION HOSE)
*264
*712 OR *432
8 parts on this diagram · 2 diagrams in section