E
EPC Data
Pricing
API Docs
Sign In
Home
›
GR
›
141340
›
VENTILATION HOSE
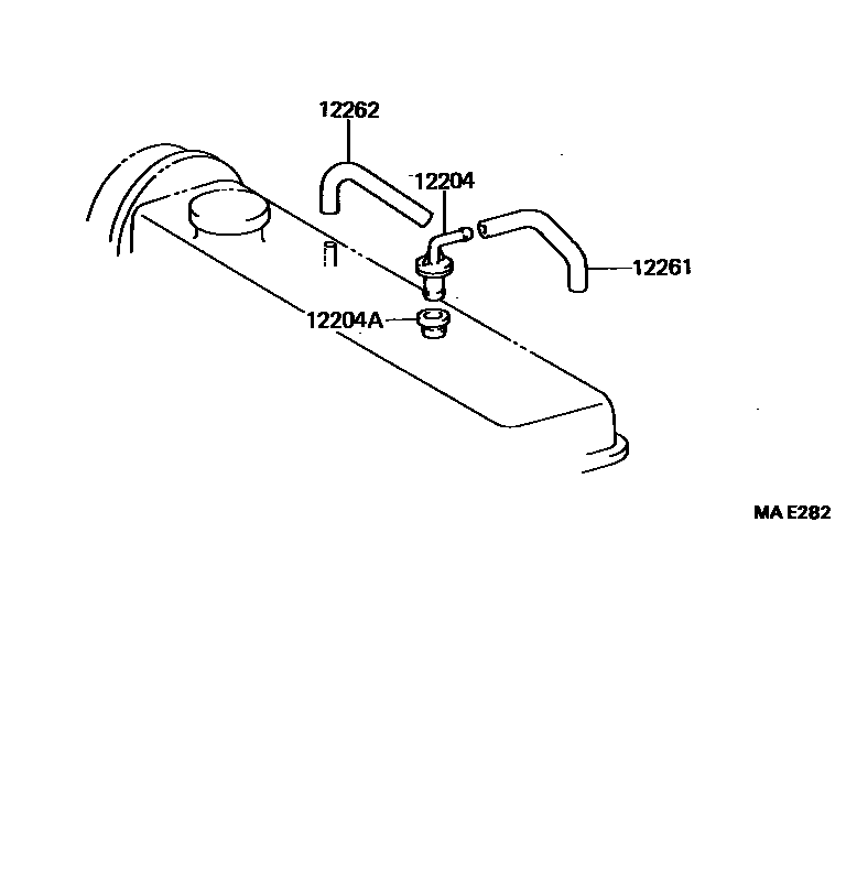
VENTILATION HOSE
12204
VALVE SUB-ASSY, VENTILATION
main
12204-11040
i
2E..EL40
199009-199409
12204A
GROMMET(FOR VENTILATION SYSTEM)
main
90480-18006
i
2E..EL40
199009-199409
12261
HOSE, VENTILATION
main
12261-11020
i
2E..EL40
199208-199409
main
12262-10020
i
2E..EL40
199009-199208
12262
HOSE, VENTILATION, NO.2
main
12261-10010
i
2E..EL40
199009-199208
main
12262-10020
i
2E..EL40
199208-199409
4 parts on this diagram · 1 diagram in section
VENTILATION HOSE — Toyota Parts Diagram with OEM Numbers & Prices | EPC Data