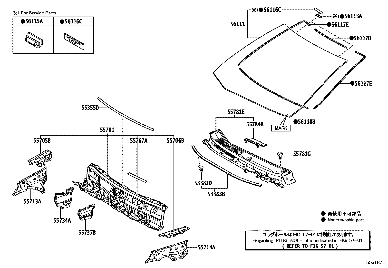
COWL PANEL & WINDSHIELD GLASS

53383BSEAL, HOOD TO COWL TOP
53383DCLIP(FOR HOOD TO COWL TOP SEAL)
55355DCUSHION, INSTRUMENT PANEL, NO.1
55705BPANEL SUB-ASSY, COWL TOP SIDE, RH
55706BPANEL SUB-ASSY, COWL TOP SIDE, LH
55713APANEL, COWL TOP SIDE, RH
55714APANEL, COWL TOP SIDE, LH
55734APLATE, WATER GUARD, RH
55737BSEAL, HEATER AIR DUCT SPLASH SHIELD, NO.1
55767ASHEET, COWL TOP INSULATOR, NO.5
55781ELOUVER SUB-ASSY, COWL TOP VENTILATOR
55781GCLIP, COWL TOP VENTILATOR LOUVER
55784BLOUVER, COWL TOP VENTILATOR, CENTER NO.2
56111GLASS, WINDSHIELD
*LAM,T=4.56,GREEN,MARK=ASAHI
MARK=FY
MARK=FUYAO(E006888)
MARK=ASAHI
MARK=FUYAO(E000970)
56115ASTOPPER, WINDSHIELD GLASS, NO.1
56116CSTOPPER, WINDSHIELD GLASS, NO.2
56117DDAM, WINDSHIELD GLASS ADHESIVE
L=549
L=549
56117EDAM, WINDOW GLASS ADHESIVE
L=915
L=915
56118BDAM, WINDOW GLASS ADHESIVE, NO.2
L=1182
L=1182
5701
21 parts on this diagram · 1 diagram in section