E
EPC Data

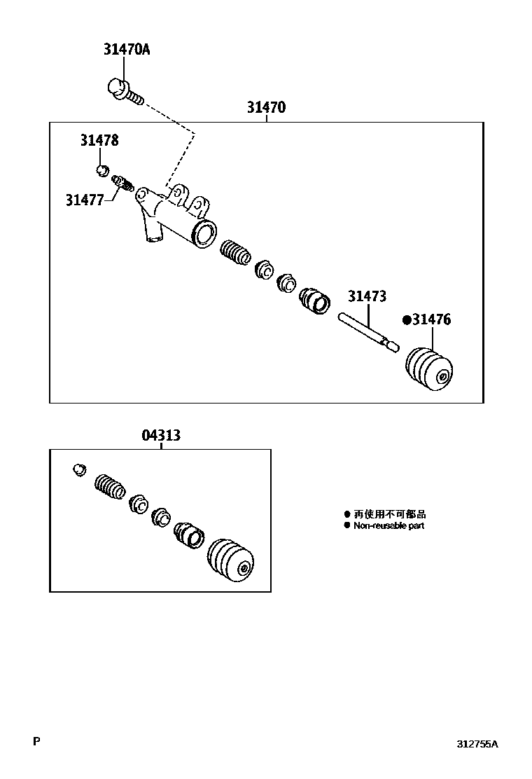
CLUTCH RELEASE CYLINDER

Parts diagram
04313CYLINDER KIT, CLUTCH RELEASE
main04313-0D030i201609-202004
main04313-0D040i201311-201609
main04313-0D050i202108
31470CYLINDER ASSY, CLUTCH RELEASE
main31470-0D020i201311-201609
main31470-0D021i201704-202004
main31470-0D050i201311-201609
main31470-0D051i201704-202008
31470ABOLT(FOR CLUTCH RELEASE CYLINDER SETTING)
main91611-60822×2i202008
*8-1.25PX22-17.1
31473ROD, CLUTCH RELEASE CYLINDER PUSH, NO.1
main31473-20031i201311-201609
31476BOOT, CLUTCH RELEASE CYLINDER
main31476-02010i201311-201609
main31476-04010i202108
31477PLUG, BLEEDER(FOR RELEASE CYLINDER)
main47547-20010i201311-201609
31478CAP, BLEEDER PLUG(FOR RELEASE CYLINDER)
main31478-0N010i201311-201609

7 parts on this diagram · 1 diagram in section

CLUTCH RELEASE CYLINDER — Toyota Parts Diagram with OEM Numbers & Prices | EPC Data