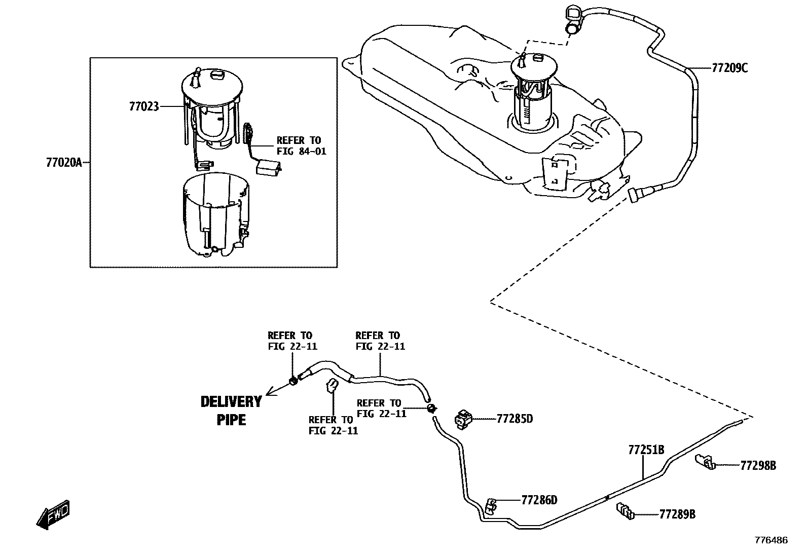
FUEL TANK & TUBE

2211
77020ATUBE ASSY, FUEL SUCTION W/PUMP & GAGE
77023FILTER SUB-ASSY, FUEL SUCTION TUBE
77209CTUBE SUB-ASSY, FUEL TANK MAIN
77251BTUBE, FUEL MAIN
77285DCLAMP, FUEL TUBE, NO.1
77286DCLAMP, FUEL TUBE, NO.2
77289BCLAMP, FUEL TUBE, NO.3
77298BCLAMP, FUEL TUBE, NO.4
8401
10 parts on this diagram · 7 diagrams in section