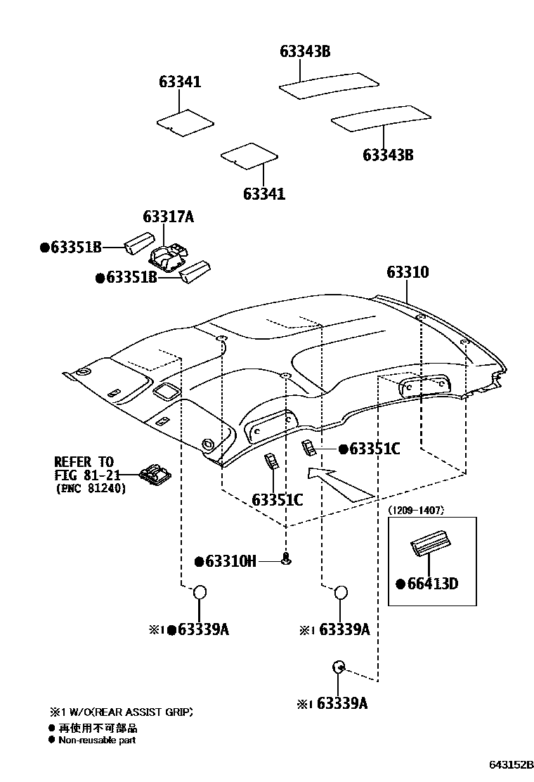
ROOF HEADLINING & SILENCER PAD

63310HEADLINING ASSY, ROOF
GRAY,TRIM2#
GRAY,TRIM2#
GRAY,TRIM2#
GRAY,TRIM2#
GRAY,TRIM2#
GRAY,TRIM2#
63310HCLIP(FOR ROOF HEADLINING)
main90467-05164-B6iNGK15..5F..X..AGT;NGK12..5F..XS..AGT;NGK12..5F..(X,XLS);NGK11,15..5F..(XLS,XS)201309-202103
GRAY,TRIM2#
sub90467-05164
GRAY,TRIM1#,2#
sub90467-05164
63317ARETAINER, ROOF HEADLINING
GRAY,TRIM1#,2#
GRAY,TRIM2#
63339ACOVER, ROOF HEADLINING SERVICE HOLE
GRAY,TRIM1#,2#
63341PAD, ROOF SILENCER, NO.1
63343BPAD, ROOF SILENCER, REAR
63351BPAD, ROOF HEADLINING
63351CPAD, ROOF HEADLINING
66413DSPACER, SIDE RAIL
8121
10 parts on this diagram · 2 diagrams in section