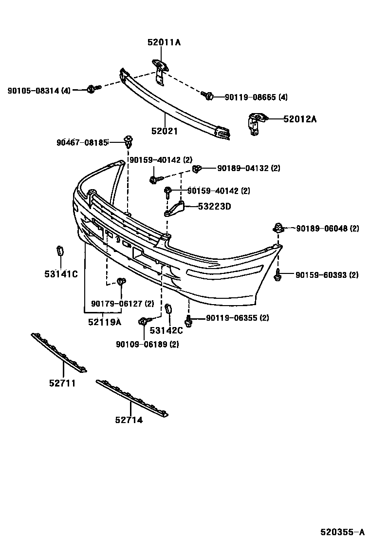
FRONT BUMPER & BUMPER STAY

52011AARM SUB-ASSY, FRONT BUMPER, RH
52012AARM SUB-ASSY, FRONT BUMPER, LH
52021REINFORCEMENT SUB-ASSY, FRONT BUMPER
52119ACOVER, FRONT BUMPER
52711MOULDING, FRONT BUMPER
52714PLUG, FRONT BUMPER MOULDING, LH
53141CGARNISH, RADIATOR GRILLE
53142CGARNISH, RADIATOR GRILLE, NO.2
53223DBRACKET, RADIATOR GRILLE MOUNTING
9010508314
main90105-08314
9010906189
main90109-06189
9011906355
main90119-06355
9011908665
main90119-08665
9015940142
main90159-40142
9015960393
main90159-60393
9017906127
main90179-06127
9018904132
main90189-04132
9018906048
main90189-06048
9046708185
main90467-08185
19 parts on this diagram · 1 diagram in section