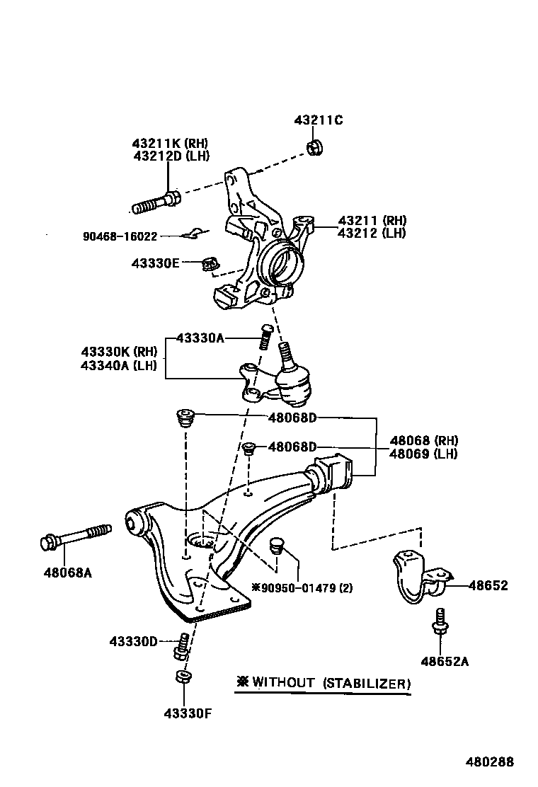
FRONT AXLE ARM & STEERING KNUCKLE

43211CNUT (FOR ABSORBER SETTING)
43211KBOLT (FOR STEERING KNUCKLE RH)
OD=15.0
OD=15.0
OD=13.9
OD=13.3
OD=12.4
43212DBOLT (FOR STEERING KNUCKLE LH)
OD=15.0
OD=15.0
OD=13.9
OD=13.3
OD=12.4
OD=15.0
43330ASERRATION BOLT(FOR FRONT LOWER BALL JOINT)
sub90114-10032
43330DBOLT (FOR FRONT LOWER BALL JOINT)
43330ENUT, CASTLE (FOR FRONT LOWER BALL JOINT SETTING)
43330FNUT (FOR FRONT LOWER BALL JOINT SETTING)
43330KJOINT ASSY, LOWER BALL, FRONT RH
43340AJOINT ASSY, LOWER BALL, FRONT LH
48068ABOLT(FOR FRONT SUSPENSION LOWER ARM)
48068DPLUG, HOLE(FOR FRONT SUSPENSION LOWER ARM)
H=11,OD=16
H=13,OD=21
48652BRACKET, FRONT LOWER ARM
9046816022
main90468-16022
9095001479
main90950-01479
19 parts on this diagram · 2 diagrams in section