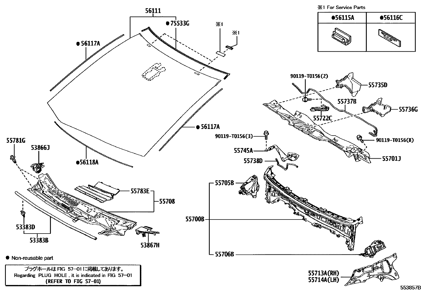
COWL PANEL & WINDSHIELD GLASS

53383BSEAL, HOOD TO COWL TOP
53383DCLIP(FOR HOOD TO COWL TOP SEAL)
53866JSEAL, FRONT FENDER TO COWL SIDE, RH
53867HSEAL, FRONT FENDER TO COWL SIDE, LH
55700BCOWL ASSY
55701JPANEL SUB-ASSY, COWL TOP, OUTER
55705BPANEL SUB-ASSY, COWL TOP SIDE, RH
55706BPANEL SUB-ASSY, COWL TOP SIDE, LH
55708LOUVER SUB-ASSY, COWL TOP VENTILATOR
55713APANEL, COWL TOP SIDE, RH
55714APANEL, COWL TOP SIDE, LH
55722CBRACE, COWL TOP TO COWL, INNER
55735DSEAL, FRONT AIR SHUTTER, RH
55736GSEAL, FRONT AIR SHUTTER, LH
55737BSEAL, HEATER AIR DUCT SPLASH SHIELD, NO.1
55738DSEAL, HEATER AIR DUCT SPLASH SHIELD, NO.2
55745AREINFORCEMENT, COWL TOP, INNER
55783ELOUVER, COWL TOP VENTILATOR, CENTER
56111GLASS, WINDSHIELD
56115ASTOPPER, WINDSHIELD GLASS, NO.1
56116CSTOPPER, WINDSHIELD GLASS, NO.2
56117ADAM, WINDOW GLASS ADHESIVE
L=798
56118ADAM, WINDOW GLASS ADHESIVE, NO.2
L=1179
5701
75533GMOULDING, WINDSHIELD, OUTSIDE
90119T0156
27 parts on this diagram · 2 diagrams in section