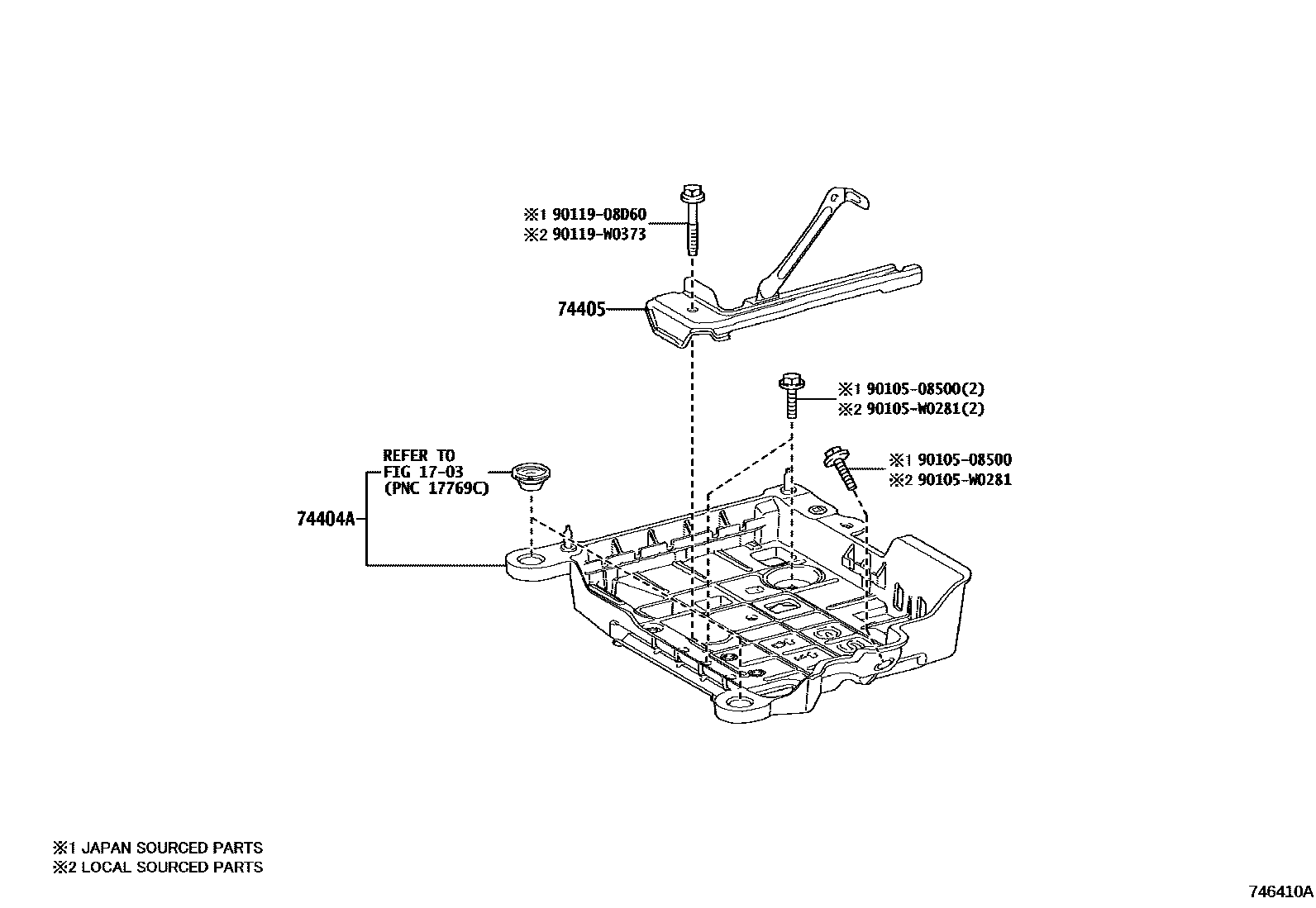
BATTERY CARRIER

1703
74404ACLAMP SUB-ASSY, BATTERY
74405CLAMP SUB-ASSY, BATTERY, NO.2
9010508500
90105W0281
main90105-W0281
9011908D60
90119W0373
main90119-W0373
7 parts on this diagram · 2 diagrams in section

7 parts on this diagram · 2 diagrams in section