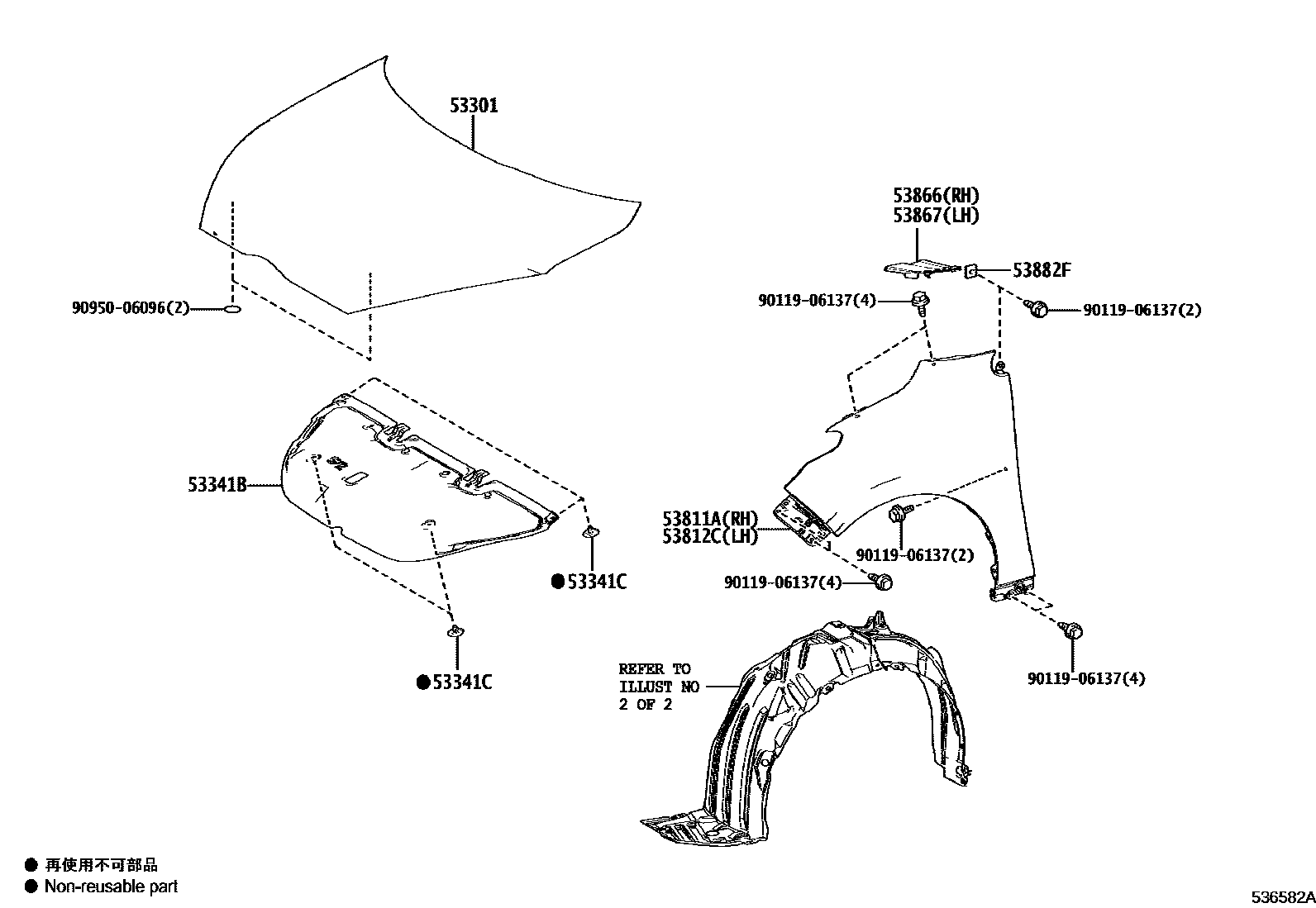
HOOD & FRONT FENDER

53301HOOD SUB-ASSY
53341BINSULATOR, HOOD
53341CCLIP(FOR HOOD INSULATOR)
53811APANEL, FRONT FENDER, RH
53812CPANEL, FRONT FENDER, LH
53866SEAL, FRONT FENDER TO COWL SIDE, RH
53867SEAL, FRONT FENDER TO COWL SIDE, LH
53882FSEAL, FRONT FENDER
9011906137
main90119-06137
9095006096
main90950-06096
10 parts on this diagram · 2 diagrams in section