REAR SEAT & SEAT TRACK

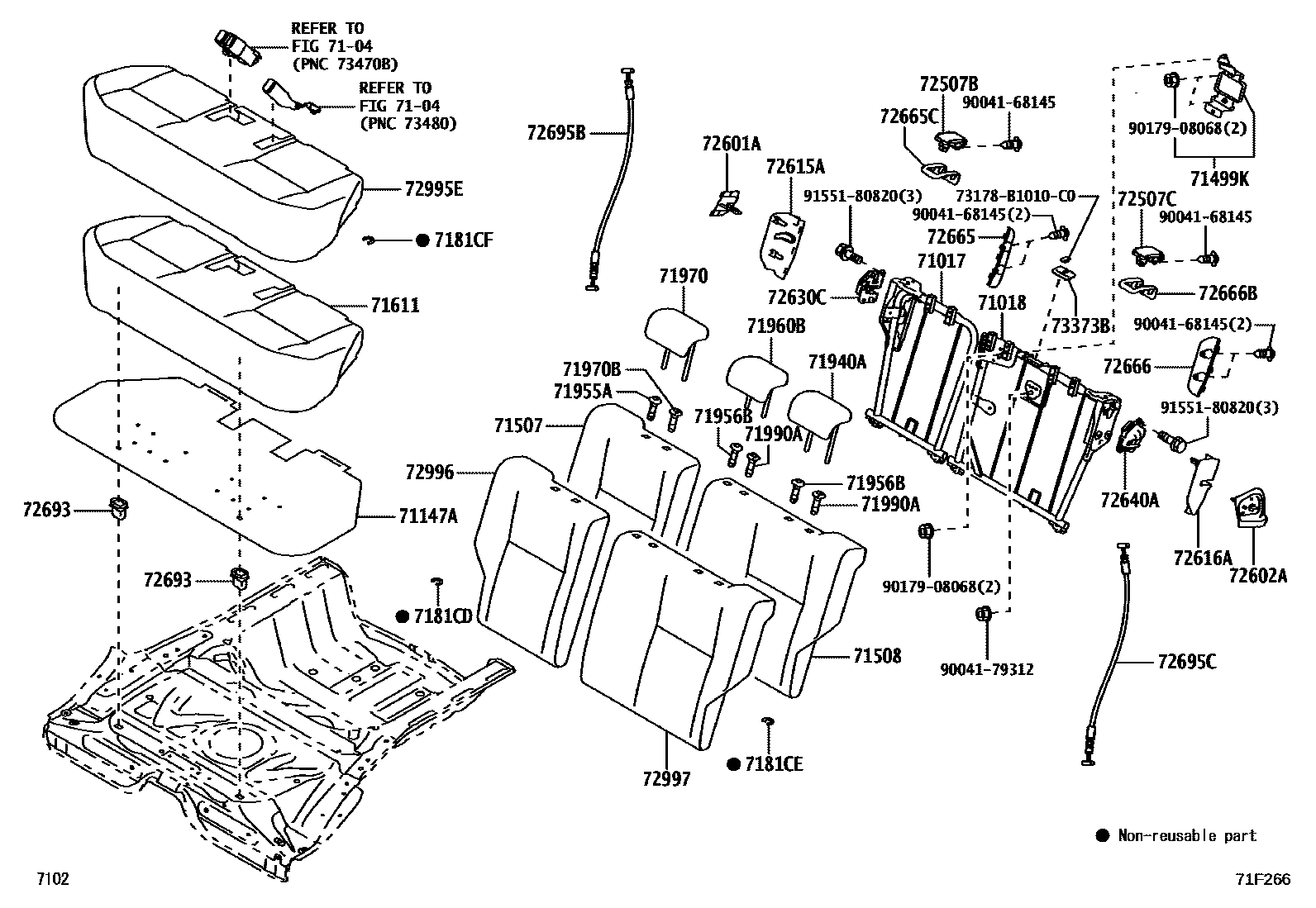
71017FRAME SUB-ASSY, REAR SEATBACK, RH
71018FRAME SUB-ASSY, REAR SEATBACK, LH
7104
71147ASILENCER, REAR SEAT SPRING
71499KDAMPER, REAR SEAT CUSHION SPRING, LH
71507PAD SUB-ASSY, REAR SEATBACK, RH
71508PAD SUB-ASSY, REAR SEATBACK, LH
71611PAD, REAR SEAT CUSHION
7181CDRING, HOG, SMALL (FOR REAR SEATBACK)
7181CERING, HOG, SMALL (FOR REAR SEATBACK)
7181CFRING, HOG, SMALL (FOR REAR SEAT CUSHION)
71940AHEADREST ASSY, REAR SEAT
main71940-BZF40-C3iA250..X;A251..5F;A25#..(L,V)..GCC;A251..CVT..X..CHL;A251..CVT..(V,X)..(GCC,GEN,IDN,PHL)202104-202608
-,TRIM2#
BLACK,TRIM2#
71955ASUPPORT, REAR SEAT HEADREST
BLACK,TRIM2#
71956BSUPPORT, REAR SEAT HEADREST
W/O(LOCK),BLACK,TRIM2#
71960BHEADREST ASSY, REAR SEAT, CENTER
main71960-BZ050-C3iA250..X;A251..5F;A25#..(L,V)..GCC;A251..CVT..X..CHL;A251..CVT..(V,X)..(GCC,GEN,IDN,PHL)202104-202608
-,TRIM2#
BLACK,TRIM2#
71970HEADREST ASSY, REAR SEAT
main71940-BZF40-C3iA250..X;A251..5F;A25#..(L,V)..GCC;A251..CVT..X..CHL;A251..CVT..(V,X)..(GCC,GEN,IDN,PHL)202104-202608
-,TRIM2#
BLACK,TRIM2#
71970BSUPPORT ASSY, REAR SEAT HEADREST, RH
BLACK,TRIM2#
71990ASUPPORT ASSY, REAR SEAT HEADREST, LH
BLACK,TRIM2#
72507BHANDLE SUB-ASSY, RECLINING RELEASE, RH
BLACK,TRIM2#
72507CHANDLE SUB-ASSY, RECLINING RELEASE, LH
BLACK,TRIM2#
72601ASTRIKER SUB-ASSY, REAR SEATBACK LOOK, RH
72602ASTRIKER SUB-ASSY, REAR SEATBACK LOCK, LH
72615ACOVER, REAR SEATBACK LOCK STRIKER, RH
BLACK,TRIM2#
72616ACOVER, REAR SEATBACK LOCK STRIKER, LH
BLACK,TRIM2#
72630CLOCK ASSY, REAR SEATBACK, RH
72640ALOCK ASSY, REAR SEATBACK, LH
72665COVER, REAR SEATBACK LOCK, RH
BLACK,TRIM2#
72665CCOVER, REAR SEAT LOCK, RH
BLACK,TRIM2#
72666COVER, REAR SEATBACK LOCK, LH
BLACK,TRIM2#
72666BCOVER, REAR SEAT LOCK, LH
BLACK,TRIM2#
72693HOOK, REAR SEAT CUSHION LOCK
72695BCABLE, REAR SEAT LOCK CONTROL, RH
72695CCABLE, REAR SEAT LOCK CONTROL, LH
72995ECOVER, REAR SEAT CUSHION
main71075-BZL90-C2iA250..X;A251..5F;A25#..(L,V)..GCC;A251..CVT..X..CHL;A251..CVT..(V,X)..(GCC,GEN,IDN,PHL)202104-202608
BLACK,TRIM2#
BLACK,TRIM2#
72996COVER, REAR SEATBACK, RH
main71077-BZL00-C4iA250..X;A251..5F;A25#..(L,V)..GCC;A251..CVT..X..CHL;A251..CVT..(V,X)..(GCC,GEN,IDN,PHL)202104-202608
BLACK,TRIM2#
BLACK,TRIM2#
72997COVER, REAR SEATBACK, LH
main71078-BZE90-C4iA250..X;A251..5F;A25#..(L,V)..GCC;A251..CVT..X..CHL;A251..CVT..(V,X)..(GCC,GEN,IDN,PHL)202104-202608
BLACK,TRIM2#
BLACK,TRIM2#
73373BCOVER, REAR NO.1 SEAT SHOULDER BELT
BLACK,TRIM2#
73178B1010C0HANGER, FRONT SEAT LAP BELT, RH
main73178-B1010C0
9004168145
9004179312
9017908068
9155180820
42 parts on this diagram · 2 diagrams in section