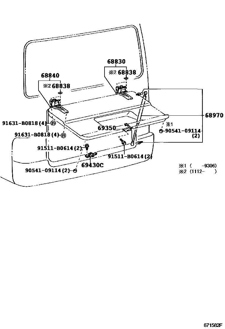
BACK DOOR LOCK & HINGE

68830HINGE ASSY, BACK DOOR, RH
W(*SSBD) OR W(*DSBD),UPPER
W(*DSBD),UPPER
UPPER
W(*SSBD),UPPER
W(LUGGAGE COMPARTMENT DOOR)
W(LUGGAGE COMPARTMENT DOOR)
W(*SSBD) OR W(*DSBD),LOWER
W(*DSBD),LOWER
LOWER
W(*SSBD),LOWER
68838PAD, BACK DOOR HINGE, NO.1
68840HINGE ASSY, BACK DOOR, LH
main68801-36010iBB42..22S;BB42..WOC..GCC;HZB50..RHD..SRF;BB42,HZB50..RHD..HRF..WOC..GEN199705-200408
UPPER
W(*DSBD),UPPER
W(LUGGAGE COMPARTMENT DOOR)
W(LUGGAGE COMPARTMENT DOOR)
main68803-36010iBB42..WC..GCC;BB42..SRF..GEN;HZB50..LHD..WOC;HZB50..LHD..SRF..WC;BB42,HZB50..HRF..(26S,30S)..WC199301-201501
W(*DSBD),LOWER
LOWER
69350LOCK ASSY, BACK DOOR
W(*DSBD)
W(DOUBLE SWING BACK DOOR)
W(SINGLE SWING BACK DOOR)
W(*DSBD)
W(LUGGAGE COMPARTMENT DOOR)
main69350-90B06iHZB50..4FC;HZB50..RHD..SRF;BB43,50..RHD..5F;BB42,HZB50..RHD..HRF..WOC..GEN199705-201501
W(SINGLE SWING BACK DOOR)
W(*SSBD)
69430CSTRIKER ASSY, BACK DOOR LOCK
W(*SSBD)
main69430-90B02iHZB50..(20S,30S)..(GCC,GEN);BB42,50,RZB40,50..(17S,22S,26S,30S)..(GCC,GEN)199301-201501
W(LUGGAGE COMPARTMENT DOOR)
W(SINGLE SWING BACK DOOR)
W(*SSBD)
W(DOUBLE SWING BACK DOOR)
W(*DSBD)
9054109114
main90541-09114
91511B0614
main91511-B0614
91631B0818
main91631-B0818
9 parts on this diagram · 5 diagrams in section