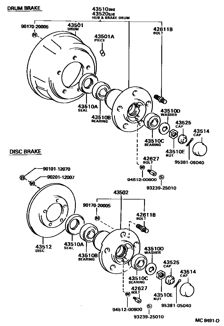
FRONT AXLE HUB

42611BBOLT, HUB (FOR FRONT AXLE)
RH
LH
42627BOLT, FRONT WHEEL CAP SET
43501DRUM SUB-ASSY, FRONT BRAKE
W/FIN
43501APIECE, BALANCE (FOR FRONT BRAKE DRUM)
10G,10G
20G,20G
30G,30G
40G,40G
50G,50G
60G,60G
43502HUB SUB-ASSY, FRONT AXLE
RH
LH
43510HUB AND BRAKE DRUM ASSY, FRONT AXLE, RH
W/FIN
43510ASEAL, OIL (FOR FRONT AXLE HUB)
43510BBEARING, TAPERED ROLLER (FOR FRONT AXLE INNER BEARING)
43510CBEARING, TAPERED ROLLER (FOR FRONT AXLE OUTER BEARING)
43510DWASHER, CLAW (FOR STEERING KNUCKLE WASHER)
43510ENUT (FOR STEERING KNUCKLE)
43512DISC, FRONT
43514CAP, FRONT HUB GREASE
43520HUB AND BRAKE DRUM ASSY, FRONT AXLE, LH
W/FIN
43525CAP, FRONT WHEEL ADJUSTING LOCK
9010112070
main90101-12070
9017020005
main90170-20005
9020112007
main90201-12007
9323925010
main93239-25010
9451200800
main94512-00800
9538105040
main95381-05040
21 parts on this diagram · 2 diagrams in section