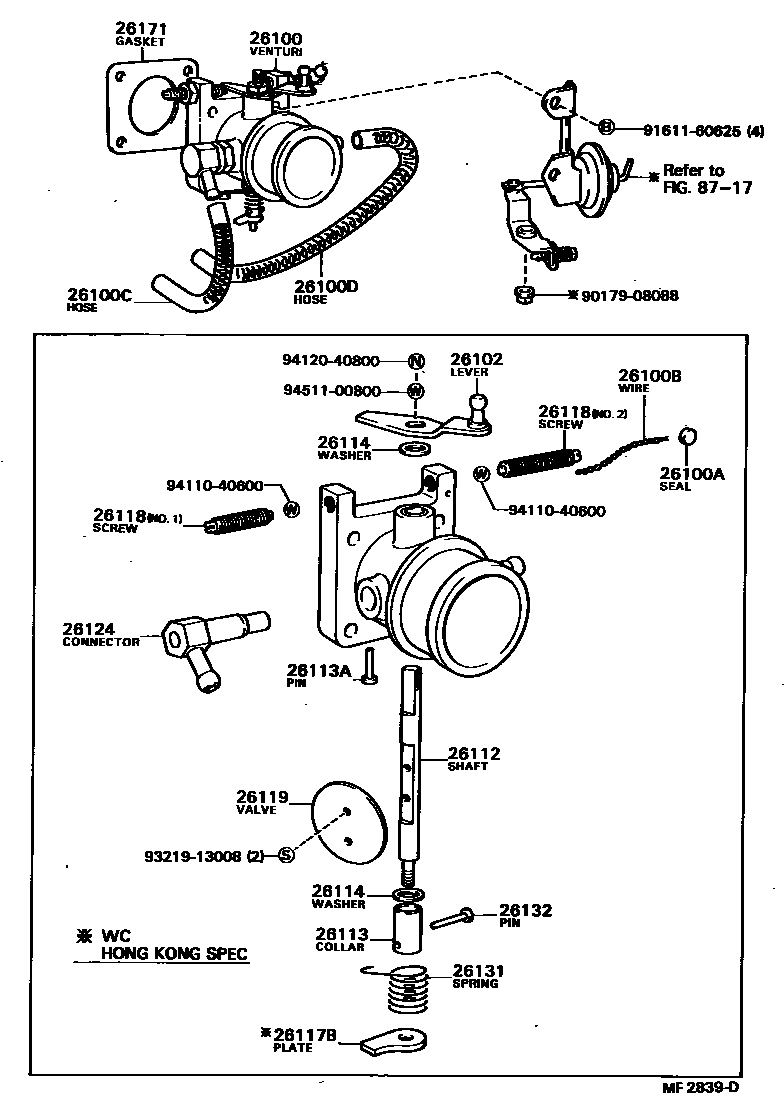
VENTURI

26100VENTURI ASSY
HONG KONG SPEC
26100ASEAL, LEAD
26100CHOSE, VACCUM, NO.1(VENTURI TO GOVERNOR)
26102LEVER SUB-ASSY, THROTTLE SHAFT ADJUSTING
26112SHAFT, VENTURI THROTTLE VALVE
HONG KONG SPEC
26113APIN, THROTTLE VALVE SHAFT
26114WASHER, THROTTLE VALVE SHAFT ADJUSTING
T=0.1,T=0.1
T=0.2,T=0.2
T=0.5,T=0.5
26117PLATE, THROTTLE VALVE SHAFT STOP
26117BPLATE, THROTTLE VALVE SHAFT STOP(FOR IDLE UP)
HONG KONG SPEC
26119VALVE, VENTURI THROTTLE
26124CONNECTOR, VENTURI PIPE
26131SPRING, RETURN
NO.2
NO.1
26132PIN
NO.1
NO.2
8717
9017908088
main90179-08088
9161160625
main91611-60625
9321913008
main93219-13008
9411040600
main94110-40600
9412040800
main94120-40800
9451100800
main94511-00800
25 parts on this diagram · 5 diagrams in section