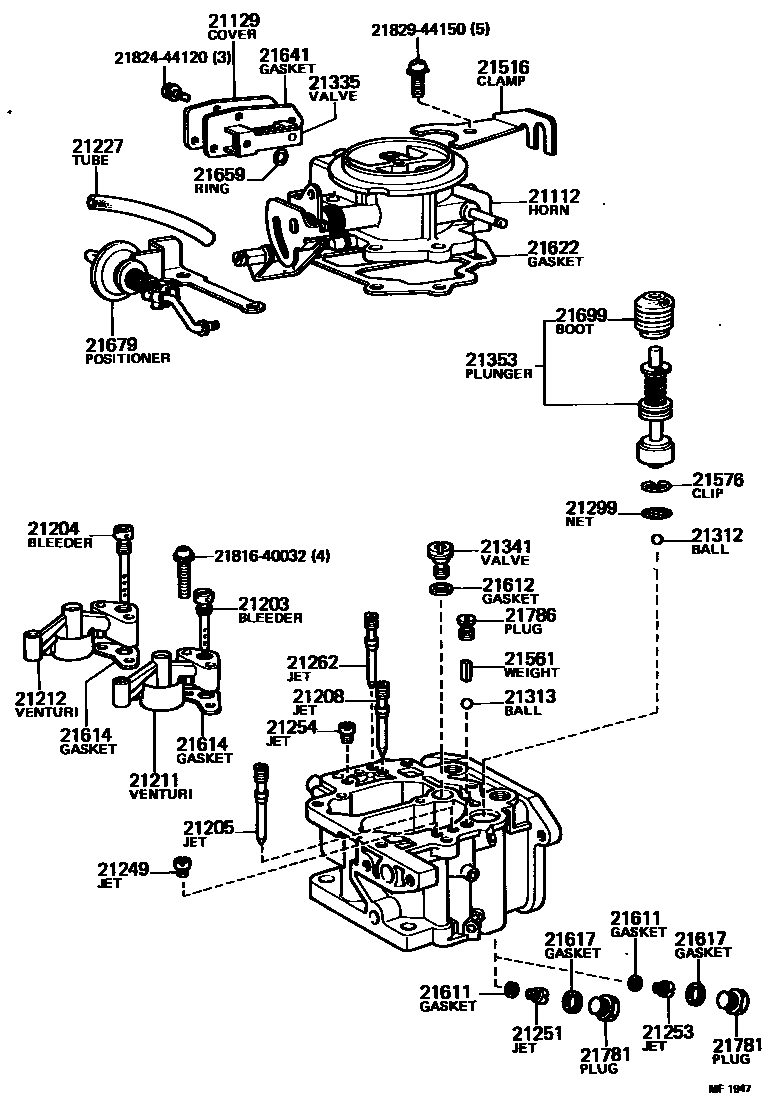
CARBURETOR

21112HORN, AIR
21129COVER(FOR THERMOSTATIC VALVE)
21203BLEEDER SUB-ASSY, 1ST MAIN AIR
21204BLEEDER SUB-ASSY, 2ND MAIN AIR
21205JET SUB-ASSY, SLOW
ID=0.53
ID=0.53
ID=0.48
21208JET SUB-ASSY, STEP
ID=0.60
21211VENTURI, 1ST SMALL
21212VENTURI, 2ND SMALL
21227TUBE, AIR VENT
21249JET, AIR BLEED, NO.2
ID=1.60
21251JET, 1ST MAIN
ID=1.03
ID=1.05
ID=1.09
ID=1.19
21254JET, STEP AIR BLEED
ID=1.00
21262JET, MAIN AIR BLEED
ID=0.42
21299NET, PUMP FILTER
21312BALL, STEEL
21313BALL, STEEL, NO.1(FOR DISCHARGE WEIGHT)
21335VALVE, THERMOSTATIC
21516CLAMP, CONNECTOR
21561WEIGHT, PUMP DISCHARGE
21576CLIP, PUMP STRAINER
21611GASKET, MAIN JET
21612GASKET, POWER VALVE
21614GASKET, VENTURI
21617GASKET, MAIN PASSAGE PLUG
21659RING, O(FOR THERMOSTATIC VALVE)
21679POSITIONER
21786PLUG, PUMP PASSAGE
2181640032SCREW, SMALL VENTURI SET, NO.1
main21816-40032
2182444120SCREW, SET(FOR 1ST IDLE CAM FOLLOWER SET)
main21824-44120
2182944150SCREW, HIGH SPEED VALVE SET
main21829-44150
37 parts on this diagram · 10 diagrams in section