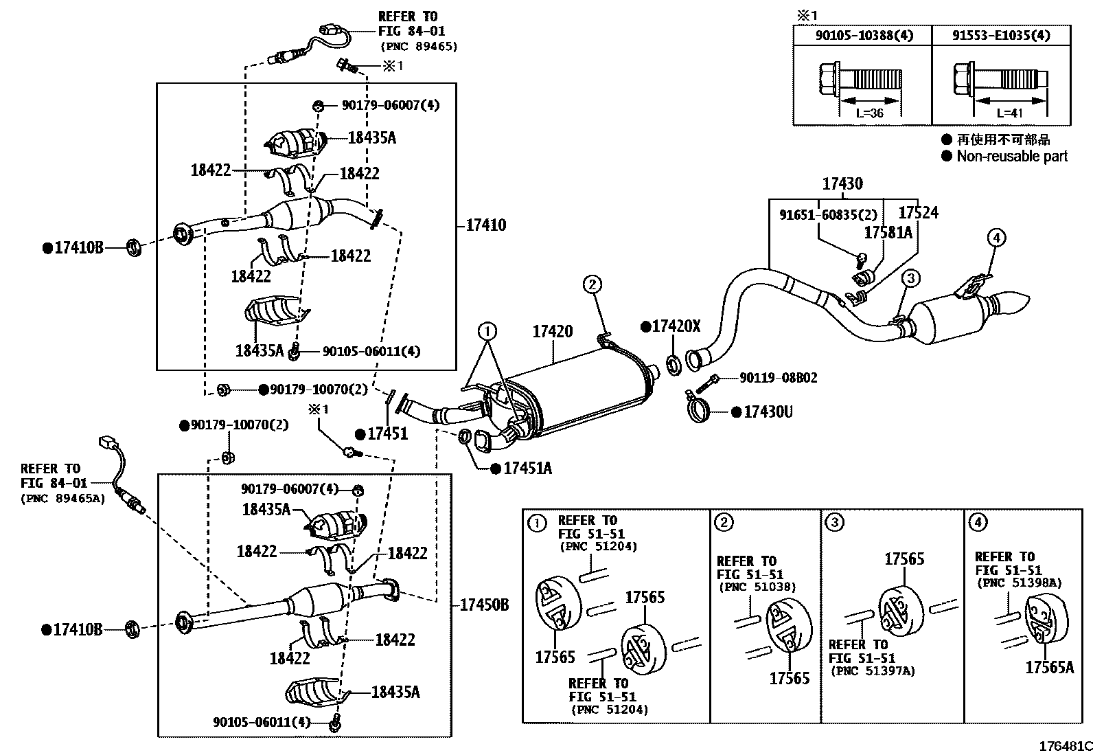
EXHAUST PIPE

17410PIPE ASSY, EXHAUST, FRONT
*114=TOYOTA/X32/Y
17410BGASKET, EXHAUST PIPE
17420PIPE ASSY, EXHAUST, CENTER
17420XGASKET, EXHAUST PIPE, CENTER
17430UCLAMP NO.1, EXHAUST TAILPIPE (FOR REAR)
17450PIPE ASSY, EXHAUST, NO.5
17450BPIPE ASSY, EXHAUST, FRONT NO.2
*114=TOYOTA/X32/Y
*114=TOYOTA/ZC2/Y
17451AGASKET, EXHAUST PIPE, NO.2
AZERBAIJAN, GEORGIA, ARMENIA SPEC
17524PROTECTOR, EXHAUST PIPE, UPPER NO.4
17565SUPPORT, EXHAUST PIPE, NO.5
17565ASUPPORT, EXHAUST PIPE, NO.4
17581ADAMPER, EXHAUST PIPE
18422STAY, CONVERTER PROTECTOR, NO.2
18435APROTECTOR, MONOLITHIC CONVERTER
5151
8401
9010506011
main90105-06011
9010510388
main90105-10388
9011908B02
main90119-08B02
9017906007
main90179-06007
9017910070
main90179-10070
91553E1035
main91553-E1035
9165160835
main91651-60835
25 parts on this diagram · 3 diagrams in section