E
EPC Data

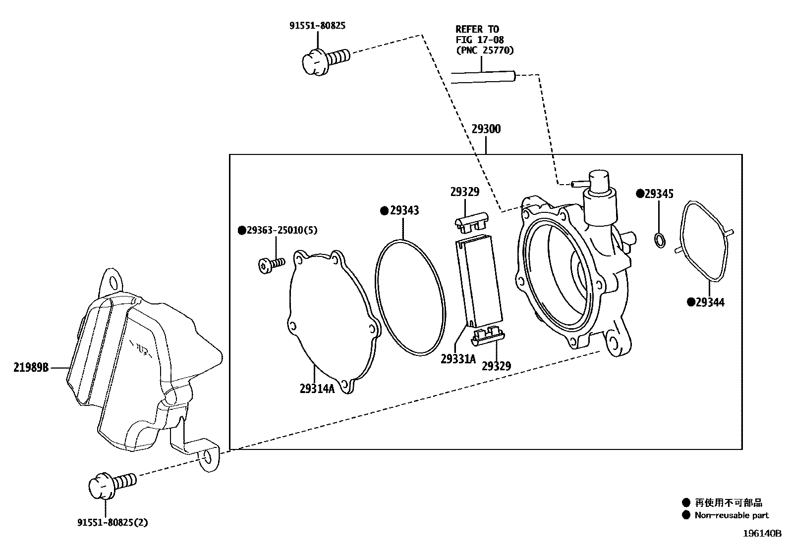
VACUUM PUMP

Parts diagram
1708VACUUM PIPING
21989BINSULATOR, PLATE
main21989-52010i202112-202411
29300PUMP ASSY, VACUUM
main29300-52040i202112-202411
29314ACOVER, END
main29314-52040i202112-202411
29329CAP, VACUUM PUMP VANE
main29329-37010i202112-202411
29331AVANE, VACUUM PUMP
main29331-36011i202112-202411
29343RING, O VACUUM PUMP, NO.1
main29343-36010i202112-202411
29344RING, O VACUUM PUMP, NO.2
main29344-22011i202112-202411
29345RING, O VACUUM PUMP, NO.3
main29345-22011i202112-202411
2936325010SCREW, HOLLOW VACUUM PUMP
9155180825

11 parts on this diagram · 1 diagram in section

VACUUM PUMP — Toyota Parts Diagram with OEM Numbers & Prices | EPC Data