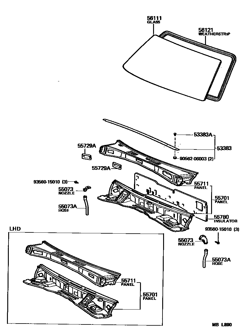
COWL PANEL & WINDSHIELD GLASS

53383SEAL, HOOD TO COWL TOP
53383ACLIP(FOR HOOD TO COWL TOP SEAL)
55073NOZZLE SUB-ASSY, COWL PANEL WATER EXTRACT
55073AHOSE(FOR EXTRACT NOZZLE)
55701PANEL SUB-ASSY, COWL
W(CLUTCH BOOSTER)
W(CLUTCH BOOSTER) OR W(HEATER)
55711PANEL, COWL TOP, OUTER
55729ACOVER, COWL PANEL HOLE
55780INSULATOR ASSY, COWL TOP
56111GLASS, WINDSHIELD
*TL,T=5.3
9056206003
main90562-06003
9356015010
main93560-15010
12 parts on this diagram · 1 diagram in section