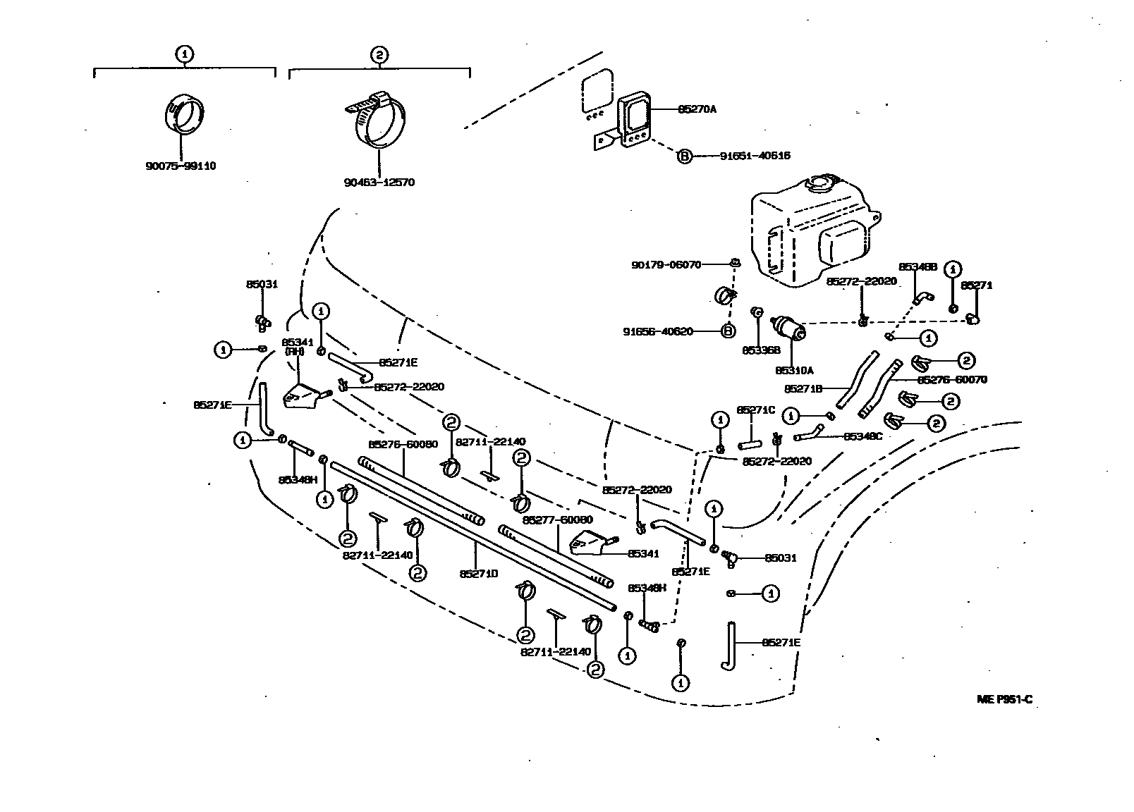
HEADLAMP CLEANER

85031VALVE, HEADLAMP CLEANER WASHER HOSE
85270ARELAY ASSY, HEADLAMP CLEANER
85271HOSE, HEADLAMP CLEANER, NO.1
L=60
85271BHOSE, HEADLAMP CLEANER, NO.3
L=640
85271CHOSE, HEADLAMP CLEANER, NO.4
85271DHOSE, HEADLAMP CLEANER, NO.5
L=1400
85271EHOSE, HEADLAMP CLEANER, NO.6
sub85271-12020
85310AMOTOR AND PUMP ASSY, HEADLAMP CLEANER WASHER
sub85280-60011
85336BPACKING, HEADLAMP CLEANER WASHER
85341NOZZLE, HEADLAMP CLEANER WASHER
RH
LH
85348BJOINT, HEADLAMP CLEANER HOSE, NO.2
85348CJOINT, HEADLAMP CLEANER HOSE, NO.3
85348HJOINT, HEADLAMP CLEANER HOSE, NO.4
2WAY
3 WAY
3WAY
2 WAY
8271122140WIRE, FUSE TO FUSE(FOR COMBUSTION HEATER)
main82711-22140
8527222020CABLE SUB-ASSY, HEADLAMP CLEANER, RH
main85272-22020
8527660070RELAY, CLEANER CONTROL
main85276-60070
8527660080RELAY, CLEANER CONTROL
main85276-60080
8527760080HOSE, HEADLAMP CLEANER, C
main85277-60080
9007599110
main90075-99110
9017906070
main90179-06070
9046312570
main90463-12570
9165140616
main91651-40616
9165640620
main91656-40620
23 parts on this diagram · 2 diagrams in section