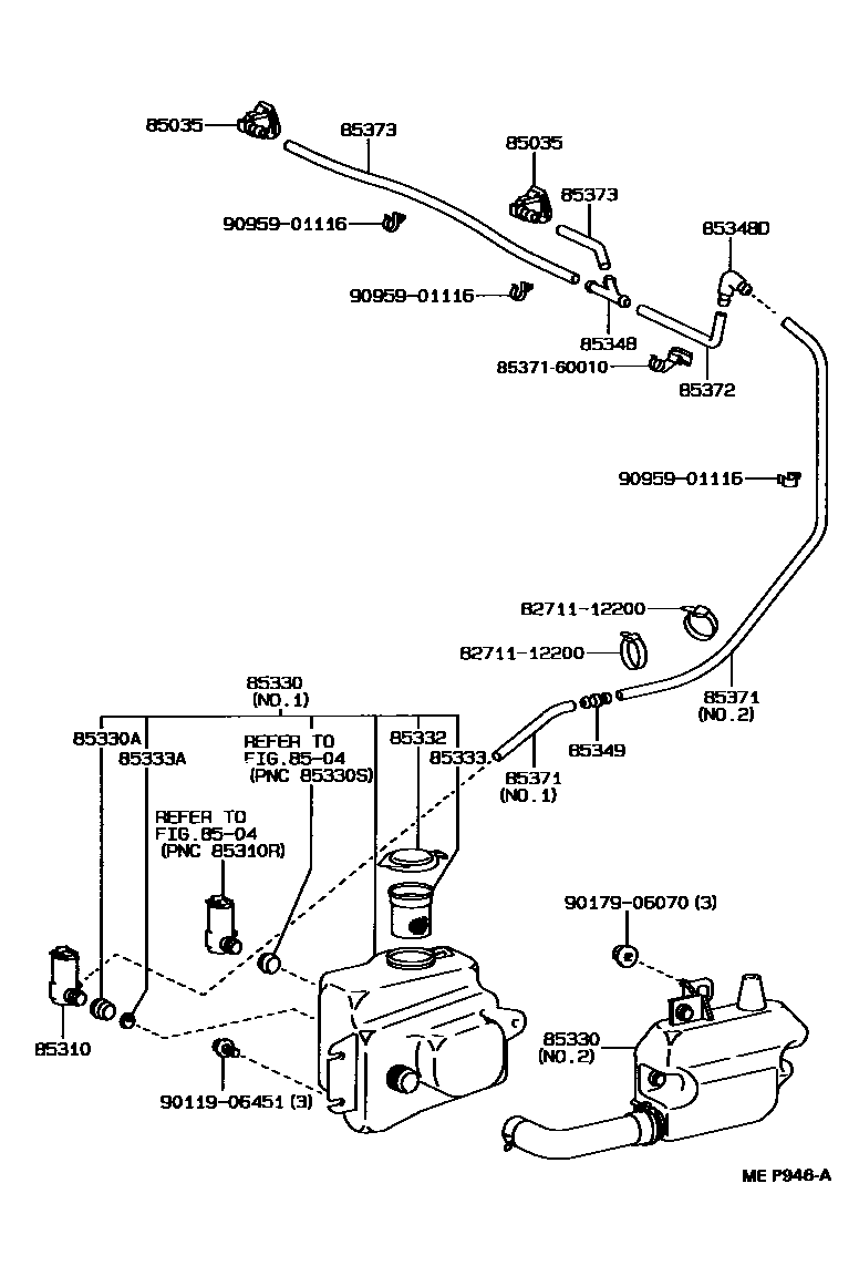
WINDSHIELD WASHER

8504
85330ABUSH, WINDSHIELD WASHER JAR
85333FILTER, WINDSHIELD WASHER JAR
85333AFILTER, WINDSHIELD WASHER JAR, NO.2
85348JOINT, WINDSHIELD WASHER HOSE, NO.1
NO.1
3WAY
NO.2
85348DJOINT, WINDSHIELD WASHER ELBOW, NO.1
85349JOINT, WINDSHIELD WASHER HOSE, NO.1
85371HOSE, WINDSHIELD WASHER (FROM MOTOR TO JOINT)
L=1450
L=1450,NO.2
L=1000,NO.1
85372HOSE, WINDSHIELD WASHER (FROM JOINT TO JOINT), NO.1
L=1100
L=1100,NO.1
L=1450
L=1450,NO.6
L=1450,NO.3,NO.2
L=1450,NO.4,NO.5,NO.2
85373HOSE, WINDSHIELD WASHER (FROM JOINT TO NOZZLE)
L=1450,LH,RH
L=1450
8271112200WIRE, FUSE TO FUSE(FOR COMBUSTION HEATER)
main82711-12200
8537160010HOSE, WINDSHIELD WASHER (FROM MOTOR TO JOINT)
main85371-60010
9011906451
main90119-06451
9017906070
main90179-06070
9095901116
main90959-01116
19 parts on this diagram · 3 diagrams in section