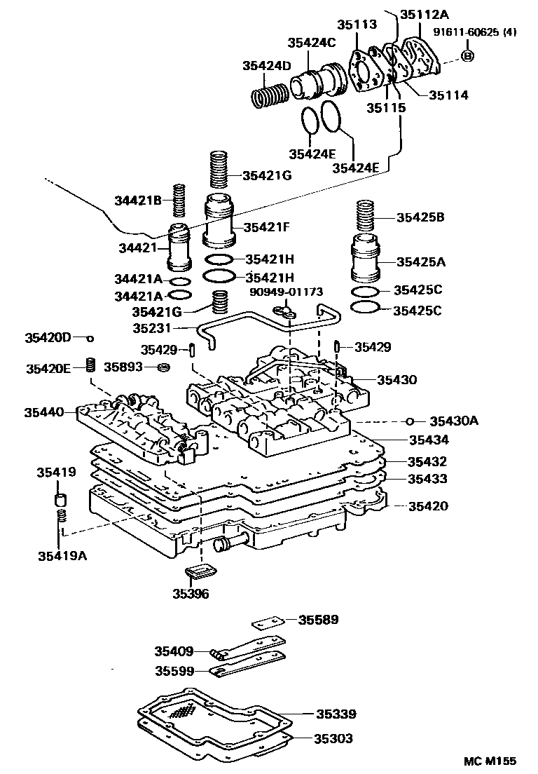
VALVE BODY & OIL STRAINER (ATM)

34421PISTON, OVERDRIVE BRAKE ACCUMULATOR
34421ARING, O (FOR OVERDRIVE BRAKE ACCUMULATOR PISTON)
UPPER
UPR
LWR
LOWER
34421BSPRING (FOR OVERDRIVE BRAKE ACCUMULATOR PISTON)
35112ACOVER, FRONT CLUTCH ACCUMULATOR
35113GASKET, FRONT CLUTCH ACCUMLATOR, NO.2
35114GASKET, FRONT CLUTCH ACCUMLATOR, NO.1
35115PLATE, FRONT CLUTCH ACCUMULATOR
35231TUBE, LOCK UP SIGNAL VALVE APPLY
35303STRAINER SUB-ASSY, OIL
35339GASKET, OIL STRAINER
35396STRAINER, THROTTLE OIL
35409SPRING SUB-ASSY, MANUAL DETENT
35419VALVE, CHECK, NO.1
35419ASPRING, COMPRESSION (FOR CHECK VALVE)
35420BODY ASSY, LOWER VALVE
W(CRUISE CONTROL)
35420DBALL (FOR LOWER VALVE BODY)
OD=6.35
OD=8.73
35420ESPRING (FOR LOWER VALVE BODY)
35421FPISTON, ACCUMULATOR, NO.2
35421GSPRING, COMPRESSION (FOR ACCUMULATOR PISTON NO.2)
UPR
LWR
LWR
LWR
UPR
35421HRING (FOR ACCUMULATOR PISTON NO.2)
UPPER
UPR
LOWER
LWR
35424CPISTON, C-1 ACCUMULATOR
35424DSPRING, COMPRESSION (FOR C-1 ACCUMULATOR PISTON)
35424ERING, O (FOR C-1 ACCUMULATOR PISTON)
LOWER
UPPER
35425APISTON, C-2 ACCUMULATOR
35425BSPRING, COMPRESSION (FOR C-2 ACCUMULATOR PISTON)
UPP,OUTER
UPR,OUTER
UPR,INNER
35425CRING, O (FOR C-2 ACCUMULATOR PISTON)
UPPER
UPR
LWR
LOWER
35429TUBE, LINE PRESSURE
35430BODY ASSY, REAR UPPER VALVE
W(CRUISE CONTROL)
35430ABALL (FOR REAR UPPER VALVE BODY)
OD=6.35
OD=6.35,W(CRUISE CONTROL)
35432PLATE, VALVE BODY, NO.1
W(CRUISE CONTROL)
W(CRUISE CONTROL)
35433GASKET, VALVE BODY, NO.1
W(CRUISE CONTROL)
35434GASKET, VALVE BODY, NO.2
W(CRUISE CONTROL)
35440BODY ASSY, FRONT UPPER VALVE
35589SPACER, MANUAL DETENT SPRING
35599COVER, MANUAL DETENT SPRING
35893GASKET, CENTER SUPPORT APPLY
9094901173
9161160625
38 parts on this diagram · 13 diagrams in section