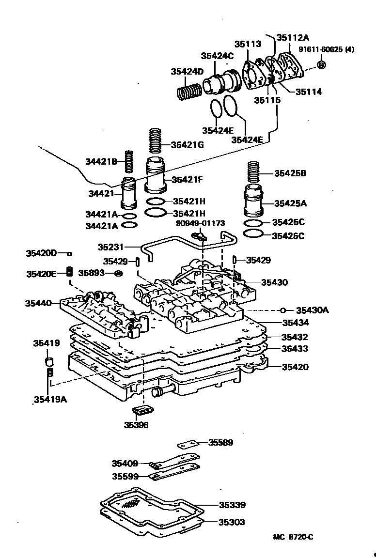
VALVE BODY & OIL STRAINER (ATM)

34421PISTON, OVERDRIVE BRAKE ACCUMULATOR
34421ARING, O (FOR OVERDRIVE BRAKE ACCUMULATOR PISTON)
UPR
LWR
34421BSPRING (FOR OVERDRIVE BRAKE ACCUMULATOR PISTON)
35112ACOVER, FRONT CLUTCH ACCUMULATOR
35113GASKET, FRONT CLUTCH ACCUMLATOR, NO.2
35114GASKET, FRONT CLUTCH ACCUMLATOR, NO.1
35115PLATE, FRONT CLUTCH ACCUMULATOR
35231TUBE, LOCK UP SIGNAL VALVE APPLY
RR UPR VALVE BODY
FR X RR UPR VALVE BODY
35303STRAINER SUB-ASSY, OIL
35339GASKET, OIL STRAINER
35396STRAINER, THROTTLE OIL
35409SPRING SUB-ASSY, MANUAL DETENT
35419VALVE, CHECK, NO.1
35419ASPRING, COMPRESSION (FOR CHECK VALVE)
35420BODY ASSY, LOWER VALVE
35420DBALL (FOR LOWER VALVE BODY)
OD=6.35,OD=6.35
OD=8.73,OD=8.73
35420ESPRING (FOR LOWER VALVE BODY)
35421FPISTON, ACCUMULATOR, NO.2
35421GSPRING, COMPRESSION (FOR ACCUMULATOR PISTON NO.2)
35421HRING (FOR ACCUMULATOR PISTON NO.2)
UPR
LWR
35424CPISTON, C-1 ACCUMULATOR
35424DSPRING, COMPRESSION (FOR C-1 ACCUMULATOR PISTON)
35424ERING, O (FOR C-1 ACCUMULATOR PISTON)
FR
RR
35425APISTON, C-2 ACCUMULATOR
35425BSPRING, COMPRESSION (FOR C-2 ACCUMULATOR PISTON)
35425CRING, O (FOR C-2 ACCUMULATOR PISTON)
UPR
LWR
35429TUBE, LINE PRESSURE
35430BODY ASSY, REAR UPPER VALVE
RR AXLE : SEMI FLOATING
TIRE & WHEEL:H78-15,4X5.5JJ-15
W/MECHANICAL WINCH
35430ABALL (FOR REAR UPPER VALVE BODY)
OD=6.35
35432PLATE, VALVE BODY, NO.1
35433GASKET, VALVE BODY, NO.1
35434GASKET, VALVE BODY, NO.2
35440BODY ASSY, FRONT UPPER VALVE
35589SPACER, MANUAL DETENT SPRING
35599COVER, MANUAL DETENT SPRING
35893GASKET, CENTER SUPPORT APPLY
9094901173
9161160625
38 parts on this diagram · 5 diagrams in section