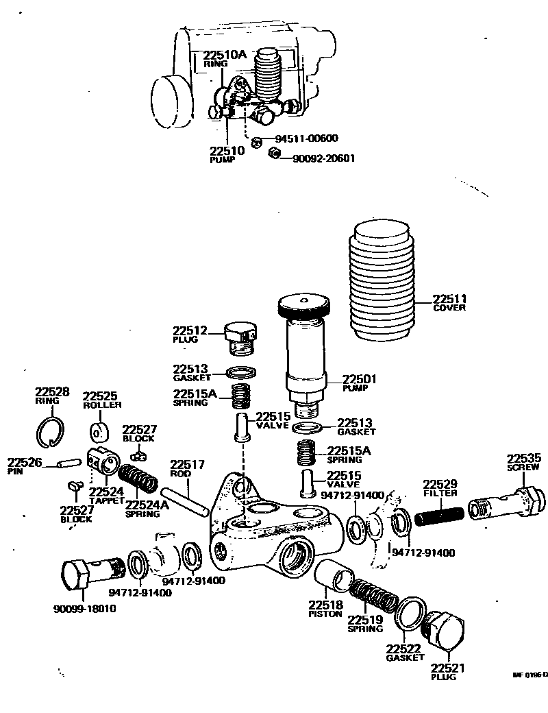
FUEL FEED PUMP

22501PUMP SUB-ASSY, PRIMING
22510PUMP ASSY, FUEL FEED
22510ARING, O(FOR FUEL FEED PUMP)
22511COVER, PRIMING PUMP
22512PLUG, FEED PUMP CHECK VALVE CHAMBER
22513GASKET, CHECK VALVE CHAMBER PLUG
22517ROD, FEED PUMP PUSH
22518PISTON, FEED PUMP
BLUE,BLUE
22519SPRING, FEED PUMP PISTON
22522GASKET, FEED PUMP PISTON PLUG
sub90099-01432
22524ASPRING, FEED PUMP TAPPET
22525ROLLER, FEED PUMP TAPPET
22526PIN, FEED PUMP TAPPET ROLLER
22528RING, FEED PUMP TAPPET SNAP
9009220601
main90092-20601
9009918010
main90099-18010
9451100600
main94511-00600
9471291400
main94712-91400
25 parts on this diagram · 3 diagrams in section