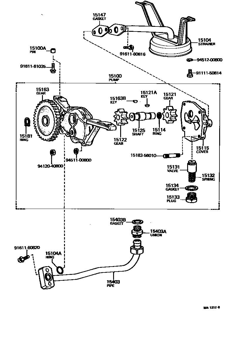
ENGINE OIL PUMP

15100APIN, RING(FOR OIL PUMP SET)
sub90253-13005
15104STRAINER SUB-ASSY, OIL
15104ARING, O(FOR OIL STRAINER)
15114RING, SHAFT SNAP
15115COVER, OIL PUMP
15121GEAR, OIL PUMP DRIVE
N=25
N=7
N=8
N=25
N=7
N=7
15121AKEY, OIL PUMP DRIVE SHAFT
15122GEAR, OIL PUMP DRIVEN
N=31
N=7
N=8
N=31
N=7
15125SHAFT, OIL PUMP
15131VALVE, OIL PUMP RELIEF
15132SPRING, OIL PUMP RELIEF VALVE
15133PLUG, OIL PUMP RELIEF VALVE
15134GASKET, OIL PUMP RELIEF VALVE
15163GEAR, OIL PUMP DRIVE SHAFT
N=13
N=31
15163BKEY, WOODRUFF(FOR OIL PUMP DRIVE SHAFT GEAR)
15181RING, OIL PUMP SHAFT SNAP
15403PIPE SUB-ASSY, OIL PUMP OUTLET
15403AUNION(FOR OIL PUMP OUTLET PIPE)
15403BGASKET(FOR OIL PUMP OUTLET PIPE)
1518356010BOLT, UNION(FOR OIL PUMP)
main15183-56010
9111150814
main91111-50814
9161160816
main91611-60816
9161160820
main91611-60820
9161161035
main91611-61035
9412040800
main94120-40800
9451100800
main94511-00800
9451200800
main94512-00800
29 parts on this diagram · 6 diagrams in section