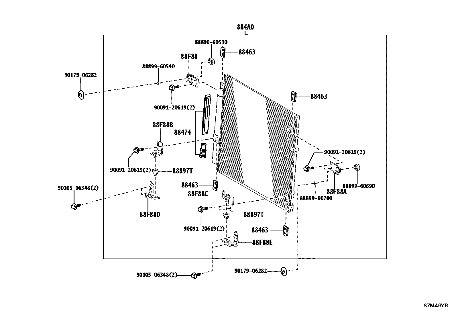
HEATING & AIR CONDITIONING - COOLER PIPING

88463BRACKET, COOLER CONDENSER, NO.1
884A0CONDENSER ASSY, COOLER
88897TGROMMET, COOLER
88F88DBRACKET, CONDENSER, NO.5
88F88EBRACKET, CONDENSER, NO.6
8889960530COVER, EVAPORATOR
main88899-60530
8889960540COVER, EVAPORATOR
main88899-60540
8889960690COVER, EVAPORATOR
main88899-60690
8889960700COVER, EVAPORATOR
main88899-60700
9009120619
main90091-20619
9010506348
main90105-06348
9017906282
main90179-06282
17 parts on this diagram · 12 diagrams in section