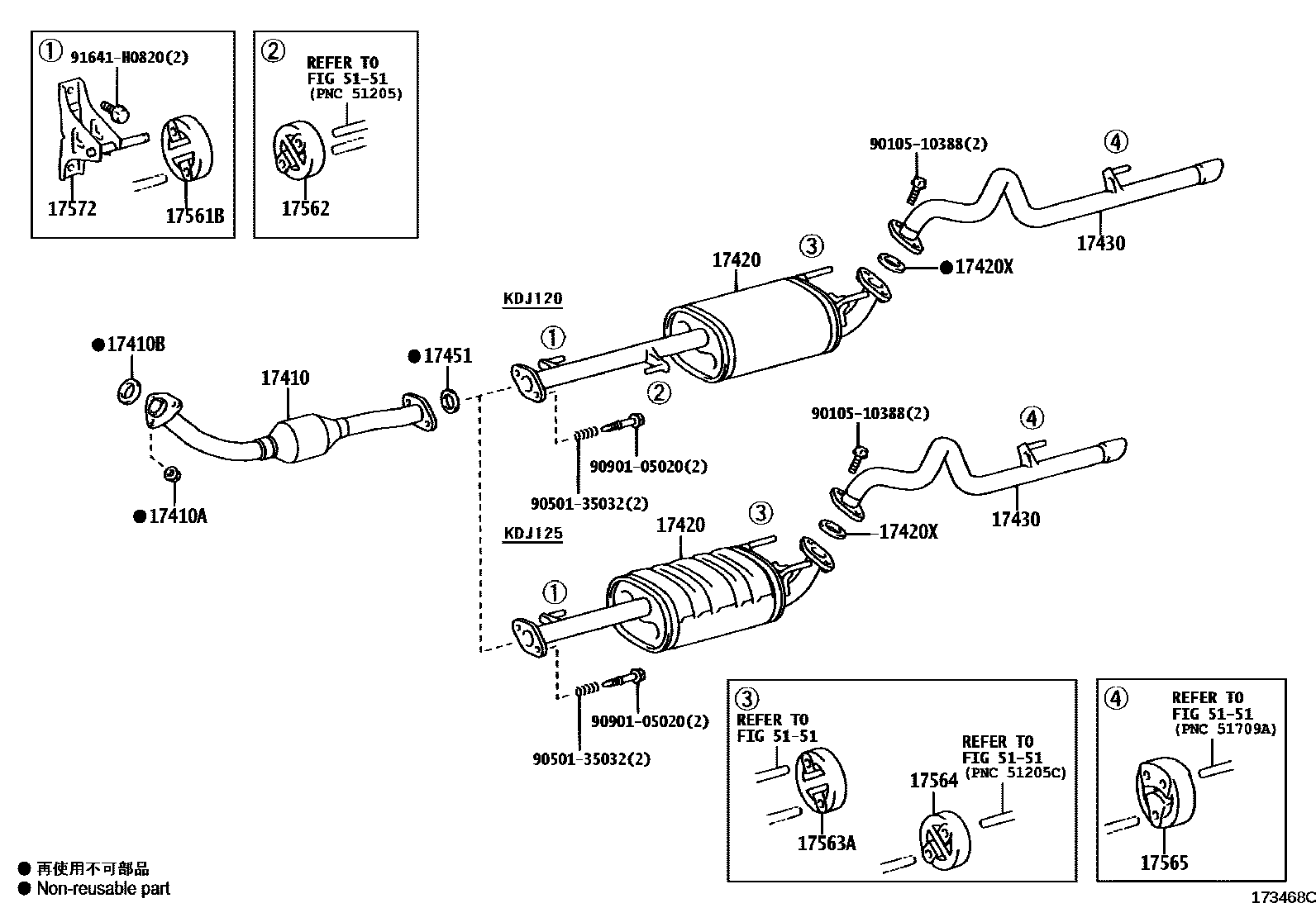
EXHAUST PIPE

17410PIPE ASSY, EXHAUST, FRONT
*115=TOYOTA/02-/N
*114=TOYOTA/AG2/Y
*114=TOYOTA/AG3/Y
*114=TOYOTA/T97/Y
*114=TOYOTA/T37/Y
17410ANUT, EXHAUST PIPE SET STUD BOLT
17410BGASKET, EXHAUST PIPE
17420PIPE ASSY, EXHAUST, CENTER
17420XGASKET, EXHAUST PIPE, CENTER
17451GASKET, EXHAUST PIPE
17561BSUPPORT, EXHAUST PIPE, NO.1
17562SUPPORT, EXHAUST PIPE, NO.2
17563ASUPPORT, EXHAUST PIPE, NO.3
17564SUPPORT,EXHAUST PIPE, NO.4
17565SUPPORT, EXHAUST PIPE, NO.5
17572BRACKET, EXHAUST PIPE NO.1 SUPPORT
5151
9010510388
main90105-10388
9050135032
main90501-35032
9090105020
main90901-05020
91641H0820
main91641-H0820
18 parts on this diagram · 2 diagrams in section