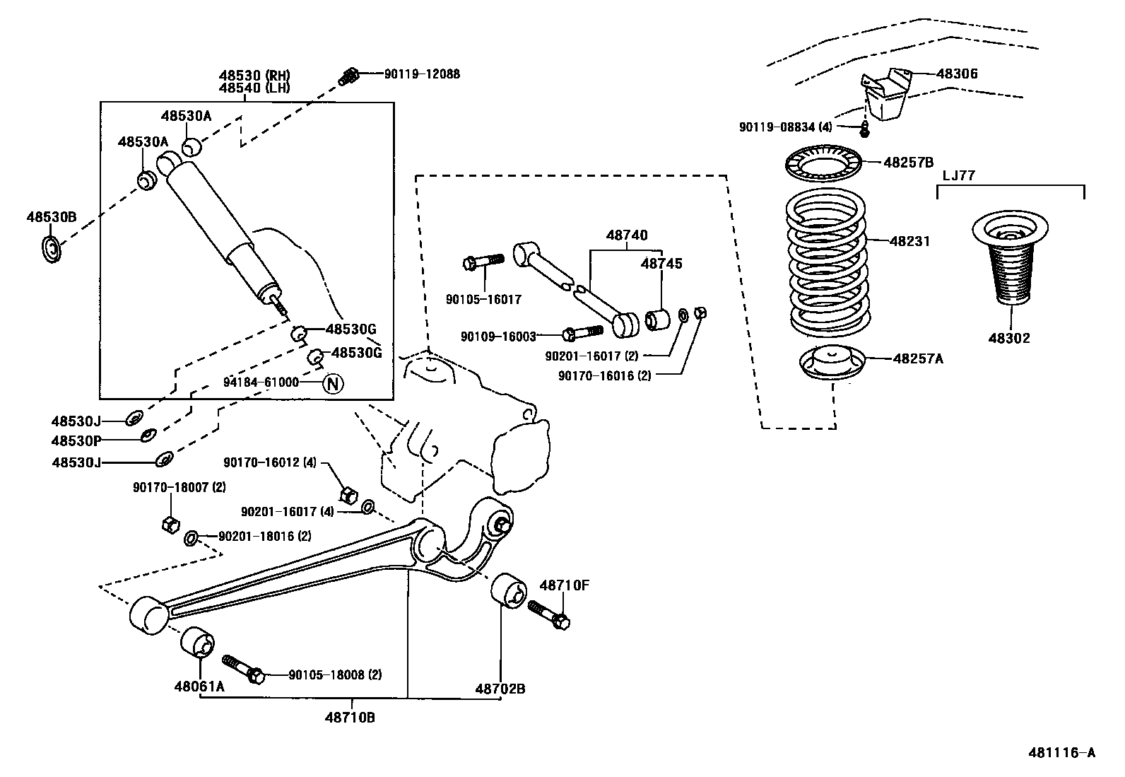
REAR SPRING & SHOCK ABSORBER

48061ABUSH SUB-ASSY, TRAILING ARM, NO.2
48257BINSULATOR, REAR COIL SPRING, UPPER
48302SPRING SUB-ASSY, HOLLOW
48306BUMPER SUB-ASSY, REAR SPRING
48530ABSORBER ASSY, SHOCK, REAR RH
sub48531-69296
sub48531-69326
sub48531-69336
sub48531-69386
sub48531-69456
MARK 48531-60620
48530ABUSH(FOR REAR SHOCK ABSORBER)
48530BWASHER, REAR SHOCK ABSORBER CUSHION, NO.1
48530GCUSHION, REAR SHOCK ABSORBER, NO.1
48530JRETAINER, CUSHION, NO.1(FOR REAR SHOCK ABSORBER)
48530PRETAINER, CUSHION, NO.2(FOR REAR SHOCK ABSORBER)
48540ABSORBER ASSY, SHOCK, REAR LH
sub48531-69296
sub48531-69326
sub48531-69336
sub48531-69386
sub48531-69456
MARK 48531-60620
48702BBUSH SUB-ASSY, TRAILING ARM, NO.1
48710BARM ASSY, TRAILING, REAR
48710FBOLT(FOR REAR TRAILING ARM)
48740ROD ASSY, REAR LATERAL CONTROL
48745BUSH, LATERAL CONTROL ROD
9010516017
main90105-16017
9010518008
main90105-18008
9010916003
main90109-16003
9011908834
main90119-08834
9011912088
main90119-12088
9017016012
main90170-16012
9017016016
main90170-16016
9017018007
main90170-18007
9020116017
main90201-16017
9020118016
main90201-18016
9418461000
main94184-61000
29 parts on this diagram · 10 diagrams in section