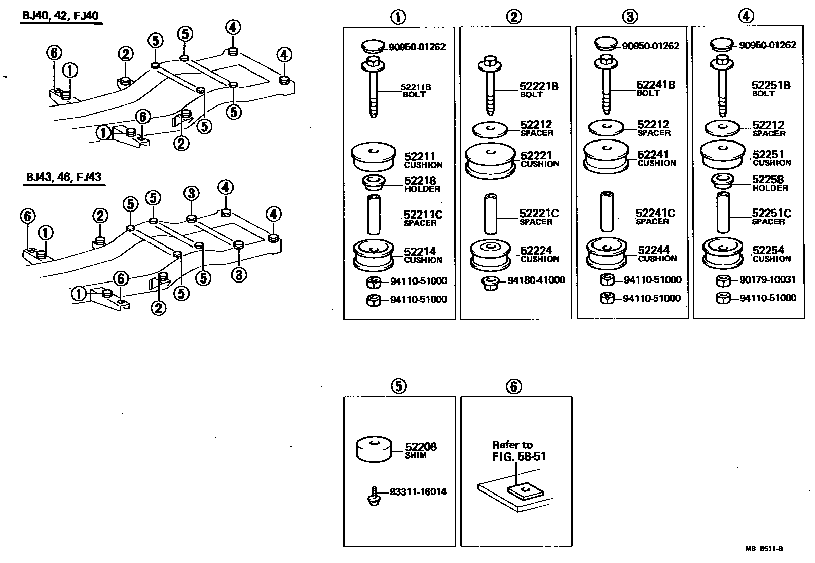
CAB MOUNTING & BODY MOUNTING

52208SHIM SUB-ASSY, BODY MOUNTING
52211CUSHION, BODY MOUNTING, NO.1 UPPER
H=26.7
W/ADJUSTER,H=21.7
52211BBOLT(FOR BODY MOUNTING NO.1 CUSHION)
52211CSPACER(FOR BODY MOUNTING NO.1 CUSHION)
L=48.1
W/ADJUSTER,L=43.1
52212SPACER, BODY MOUNTING
W/ADJUSTER,T=5.0
52214CUSHION, BODY MOUNT, NO.1 LOWER
52218HOLDER, BODY MOUNT BOLT SPACER, NO.1
52221CUSHION, BODY MOUNT, NO.2 UPPER
52221BBOLT(FOR BODY MOUNT NO.2 CUSHION)
52221CSPACER(FOR BODY MOUNT NO.2 CUSHION)
52224CUSHION, BODY MOUNT, NO.2 LOWER
52241CUSHION, BODY MOUNT, NO.4 UPPER
52241BBOLT(FOR BODY MOUNT NO.4 CUSHION)
52241CSPACER(FOR BODY MOUNT NO.4 CUSHION)
52244CUSHION, BODY MOUNT, NO.4 LOWER
52251CUSHION, BODY MOUNT, NO.5 UPPER
52251BBOLT(FOR BODY MOUNT NO.5 CUSHION)
52251CSPACER(FOR BODY MOUNT NO.5 CUSHION)
52254CUSHION, BODY MOUNT, NO.5 LOWER
52258HOLDER, BODY MOUNT BOLT SPACER, NO.5
5851
9017910031
main90179-10031
9095001262
main90950-01262
9331116014
main93311-16014
9411051000
main94110-51000
9418041000
main94180-41000
26 parts on this diagram · 2 diagrams in section