E
EPC Data

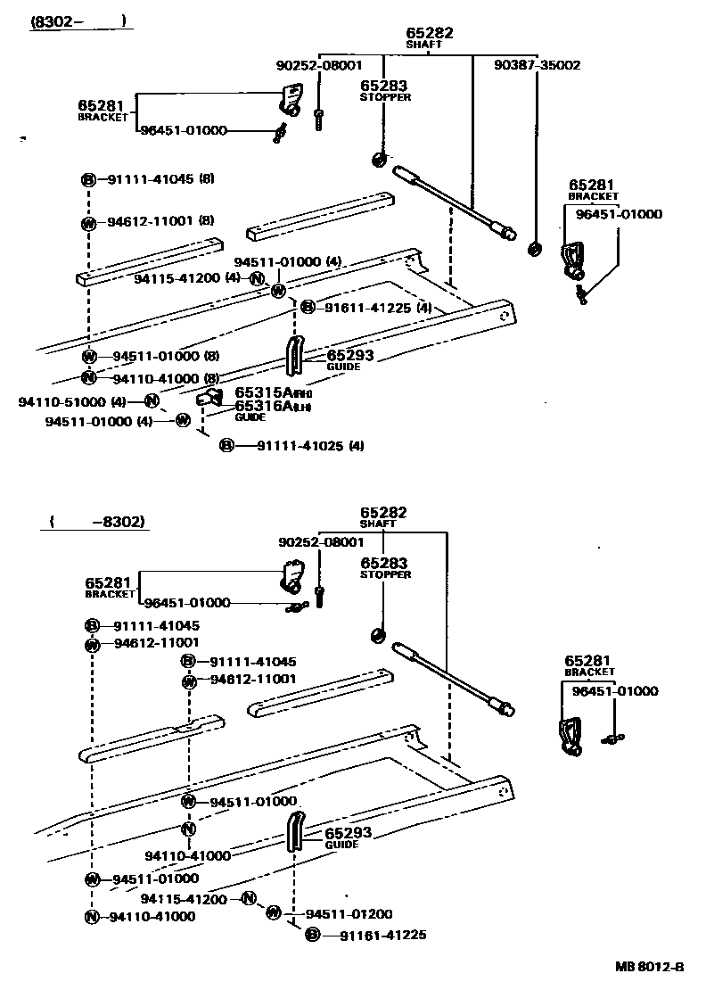
REAR BODY SUB FRAME

Parts diagram
65281BRACKET, BEZEL HINGE
main65281-93101i197803-198408
65282SHAFT, BEZEL HINGE
main65280-93102i197803-198204
main65280-93103i198204-198408
65283STOPPER, BEZEL HINGE SHAFT
main65283-93102i197803-198408
65293GUIDE, VESSEL
main65293-93101i197803-198408
65315AGUIDE, BODY LOCK, RH
main65315-93100i198302-198408
65316AGUIDE, BODY LOCK, LH
main65316-93100i198302-198408
9025208001
9038735002
9111141025
9111141045
9116141225
9161141225
9411041000
9411051000
9411541200
9451101000
9451101200
9461211001
9645101000

19 parts on this diagram · 2 diagrams in section

REAR BODY SUB FRAME — Toyota Parts Diagram with OEM Numbers & Prices | EPC Data