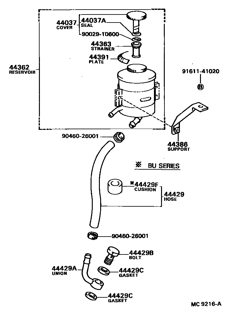
VANE PUMP & RESERVOIR (POWER STEERING)

44037COVER SUB-ASSY, OIL RESERVOIR
sub44037-36080
44037ASEAL, DUST(FOR OIL RESERVOIR COVER)
44363STRAINER, OIL(FOR VANE PUMP)
44386BRACKET(FOR VANE PUMP OIL RESERVOIR)
44429AUNION(FOR RESERVOIR TO OIL PUMP)
44429BBOLT, UNION(FOR RESERVOIR TO OIL PUMP UNION)
44429CGASKET(FOR RESERVOIR TO OIL PUMP UNION)
44429FCUSHION(FOR RESERVOIR TO OIL PUMP HOSE)
9002910600
main90029-10600
9046026001
main90460-26001
9161141020
main91611-41020
14 parts on this diagram · 2 diagrams in section