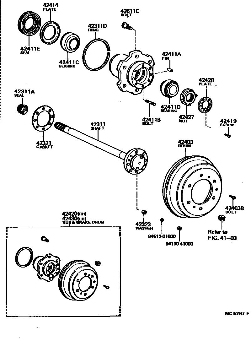
REAR AXLE SHAFT & HUB

4103
42311SHAFT, REAR AXLE
sub42311-36051
W/7.00-16 TIRE
W/13-LEAF SPRING
W/12-LEAF SPRING
sub42311-36091
sub42311-36101
sub42311-36121
42311ASEAL, OIL(FOR REAR AXLE SHAFT)
*AXC=Q194
42311DRING, SNAP(FOR REAR AXLE SHAFT)
42323WASHER, CONE (FOR REAR AXLE SHAFT)
TAIWAN WIDE CAB
42411HUB, REAR AXLE
42411APIN, STRAIGHT (FOR REAR AXLE HUB)
TAIWAN WIDE CAB
42411BBOLT, STUD (FOR REAR AXLE HUB)
TAIWAN WIDE CAB
42411CBEARING, TAPERED ROLLER (FOR REAR AXLE INNER BEARING)
42411DBEARING, TAPERED ROLLER (FOR REAR AXLE OUTER BEARING)
*AXC=Q194
42411ESEAL, OIL (FOR REAR AXLE HUB)
42414PLATE, REAR AXLE HUB
42419SCREW, REAR AXLE BEARING LOCK NUT
42420HUB (OR SHAFT) & BRAKE DRUM REAR AXLE, RH
sub42420-25071
sub42420-36081
sub42420-36130
sub42420-36091
TAIWAN WIDE CAB
42427NUT, REAR AXLE BEARING LOCK
*AXC=Q194
42428PLATE, REAR AXLE LOCK NUT
*AXC=Q194
42430HUB (OR SHAFT) & BRAKE DRUM REAR AXLE, LH
sub42430-25031
sub42430-36081
sub42430-36130
sub42430-36091
TAIWAN WIDE CAB
42611EBOLT, HUB (FOR REAR AXLE)
RH
LH
RH
LH
RH
LH
RH
TAIWAN WIDE CAB,RH
LH
TAIWAN WIDE CAB,LH
9411041000
main94110-41000
9451201000
main94512-01000
23 parts on this diagram · 5 diagrams in section