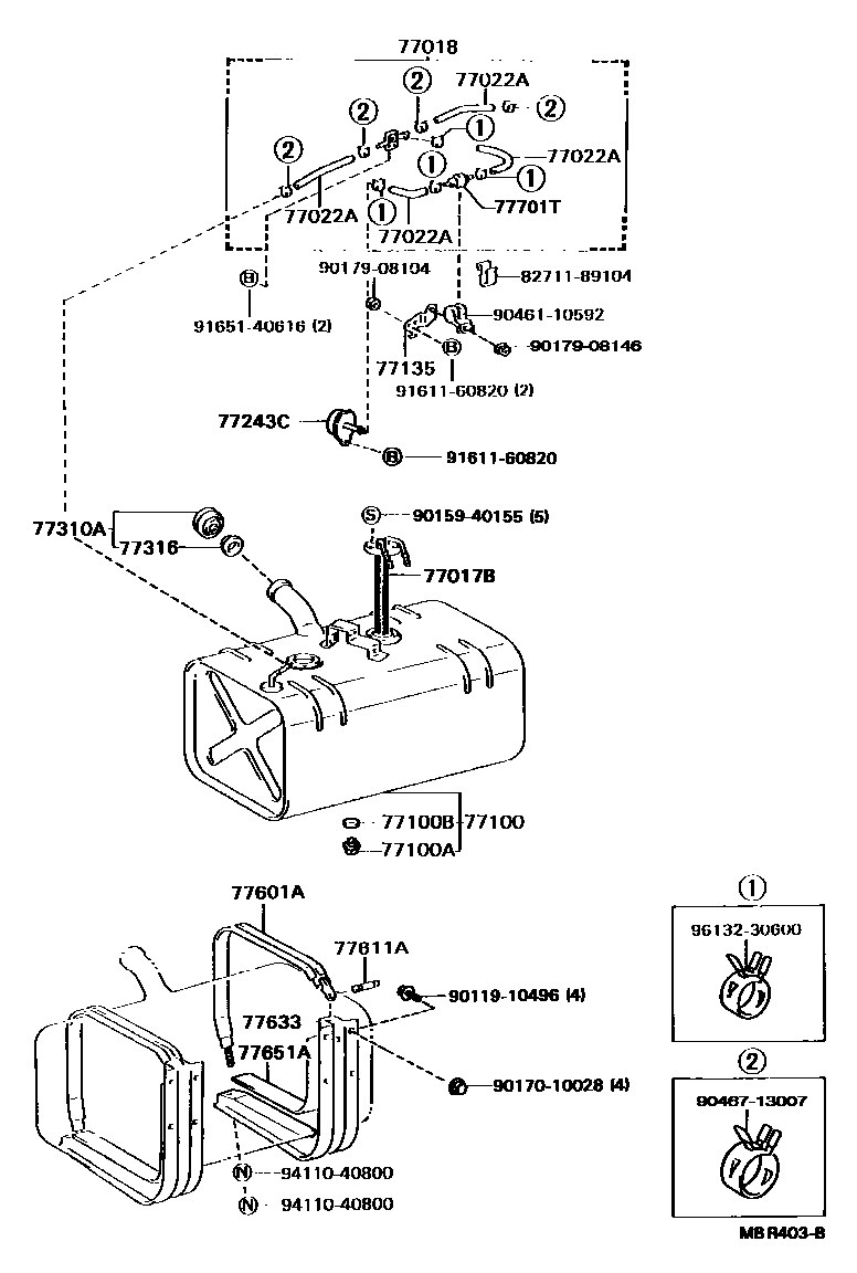
FUEL TANK & TUBE

77017BTUBE SUB-ASSY, FUEL TANK VENT
77018VALVE SUB-ASSY, FUEL VAPOUR SEPARATE
77022AHOSE, FUEL(FOR FUEL EVAPORATIVE SEPARATOR)
L=1000
L=300
77100TANK ASSY, FUEL
77100APLUG(FOR FUEL TANK)
77100BGASKET(FOR FUEL TANK)
77135BRACKET, CHECK VALVE
77243CFILTER, FUEL TANK BREATHER
77310ACAP ASSY, FUEL TANK
77316GASKET, FUEL TANK CAP
77601ABAND SUB-ASSY, FUEL TANK, NO.1
77611APIN (FOR FUEL TANK BAND)
77633STAY, FUEL TANK
W(FUEL TANK LONG STAY)
77651ACUSHION, FUEL TANK, NO.1
77701TVALVE, CHECK (FOR MAIN FUEL TANK)
8271189104WIRE, FUSE TO FUSE(FOR COMBUSTION HEATER)
9011910496
9015940155
9017010028
9017908104
9017908146
9046110592
main90461-10592
9046713007
9161160820
9165140616
9411040800
9613230600
27 parts on this diagram · 2 diagrams in section