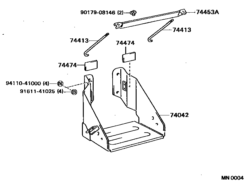
BATTERY CARRIER

74042BRACKET SUB-ASSY, BATTERY
W(BATTERY=55D23R)
74413BOLT, BATTERY CLAMP
W(BATTERY=55D23R)
74453ABAR, BATTERY SET PLATE
sub74453-37130
74474PAD, BATTERY
9017908146
main90179-08146
9161141025
main91611-41025
9411041000
main94110-41000
7 parts on this diagram · 1 diagram in section