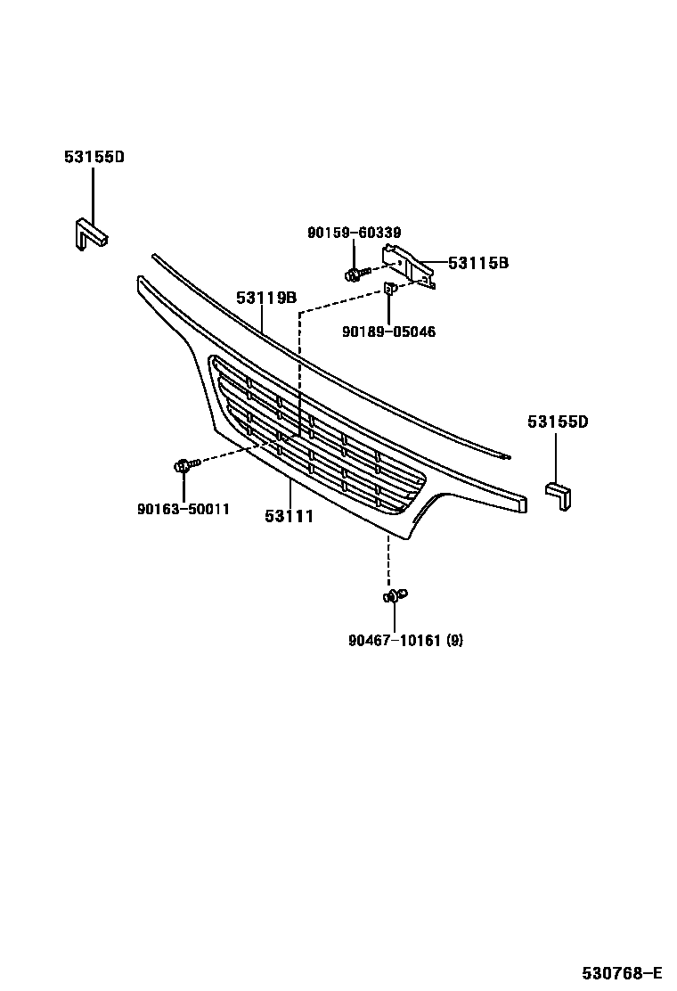
RADIATOR GRILLE

53111GRILLE, RADIATOR
53115BBRACKET, RADIATOR GRILLE
53119BPROTECTOR, RADIATOR GRILLE
53155DSEAL, RADIATOR GRILLE, NO.1
9015960339
main90159-60339
9016350011
main90163-50011
9018905046
main90189-05046
9046710161
main90467-10161
8 parts on this diagram · 1 diagram in section