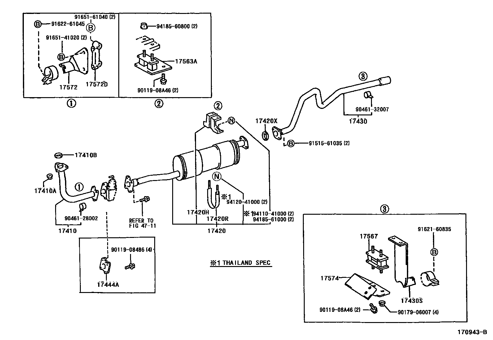
EXHAUST PIPE

17410ANUT, EXHAUST PIPE SET STUD BOLT
17410BGASKET, EXHAUST PIPE
17420HCLAMP NO.1, EXHAUST PIPE CENTER, CENTER
THAILAND SPEC
main17576-58030i14B,15BF,15BFT,3B..BU100,102,11#,14#;14B,3RZFE..BU101,RZU100..(175T,20T,30T)..(GEN,SA)199505
17420RCLAMP NO.2, EXHAUST PIPE CENTER, CENTER
THAILAND SPEC
main17504-58020i14B,15BF,15BFT,3B..BU100,102,11#,14#;14B,3RZFE..BU101,RZU100..(175T,20T,30T)..(GEN,SA)199505
17420XGASKET, EXHAUST PIPE, CENTER
17430PIPE ASSY, EXHAUST, TAIL
17430SBRACKET, EXHAUST TAILPIPE (FOR REAR)
main17561-47010i15BF..BU222..SA;15BF..BU212..TW1;14B..BU211..30T..SA;14B,15BF..BU142,211,221..ARL,GEN;14B,15BF,15BFT..BU101,142,212,222..GEN,SA,TAIW;14B,15BF,15BFT,3B,3RZFE,4Y..BU1199505
17444ASPACER, EXHAUST FRONT PIPE
main17404-58030i14B..BU211..30T..GEN;14B..BU101..(175T,20T)..(GEN,SA);14B,15BFT,3B..BU100,102,140,141..GEN,SA199505
17567CUSHION, EXHAUST PIPE SUPPORT
main17567-17010i15BF..BU212..TW1;14B,15B#..BU142,212,222..GEN,SA,TAIW;14B,15BF,3B,3RZFE,4Y..BU10#,11#,14#,211,221,RZU100,YU210199505-199908
17572BRACKET, EXHAUST PIPE NO.1 SUPPORT
main17571-58270i15BFT..BU142;14B,15BF,3B..BU10#,112,141..(DM7,T1,T2,T3,TW2)..(175T,20T,30T)199505-199708
17572DBRACKET, EXHAUST PIPE SUPPORT, NO.1
main17579-73010i15BFT..BU142;14B,15BF,3B,4Y..BU10#,112,141,YU210..(DM7,T1,T2,T3,TW2)..(175T,20T,30T)199505-199708
17574BRACKET, EXHAUST PIPE SUPPORT, NO.4
main17574-58040i3RZFE..RZU100..15T;14B..BU211..30T..SA;14B,15BF,15BFT..BU142,211,221..ARL,GEN;14B,15BF,15BFT..BU101,212,222..WT..(GEN,SA,TAIW);14B,15BF,15BFT,3B,4Y..BU100,102,140,1199505
REAR
FRONT
4711
9011908486
main90119-08486
9011908A46
main90119-08A46
9017906007
main90179-06007
9046128002
main90461-28002
9046132007
main90461-32007
9151561035
main91515-61035
9162160835
main91621-60835
9162261045
main91622-61045
9165141020
main91651-41020
9165161040
main91651-61040
9411041000
main94110-41000
9412041000
main94120-41000
9418560800
main94185-60800
9418561000
main94185-61000
30 parts on this diagram · 17 diagrams in section