E
EPC Data

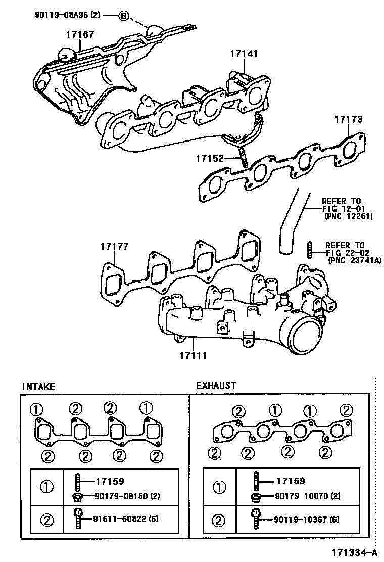
MANIFOLD

Parts diagram
1201
17111MANIFOLD, INTAKE
main17101-54110i199505
main17101-54120i199805
main17111-71010i199505-200002
main17111-71020i199505
17141MANIFOLD, EXHAUST
main17141-54110i199505-199602
main17141-54111i199602
main17141-54121i199805
main17141-71020i199505
17152BOLT, STUD(FOR MANIFOLD TO EXHAUST PIPE)
main90116-10088i199505
main90116-10146i199505
17159BOLT, STUD(FOR MANIFOLD TO CYLINDER HEAD)
main90116-08220i199505
INTAKE MANIFOLD
main90116-10063i199505
main90116-10141i199505
EXHAUST MANIFOLD
17167INSULATOR, EXHAUST MANIFOLD HEAT, NO.1
main17167-54110i199505
main17167-54130i199805
main17167-71020i199505
17173GASKET, EXHAUST MANIFOLD TO HEAD
main17173-54030i199505
17177GASKET, INTAKE MANIFOLD TO HEAD, NO.1
main17177-54020i199505-199507
main17177-54021i199507
2202
9011908A96
9011910367
9017908150
9017910070
9161160822

14 parts on this diagram · 3 diagrams in section

MANIFOLD — Toyota Parts Diagram with OEM Numbers & Prices | EPC Data