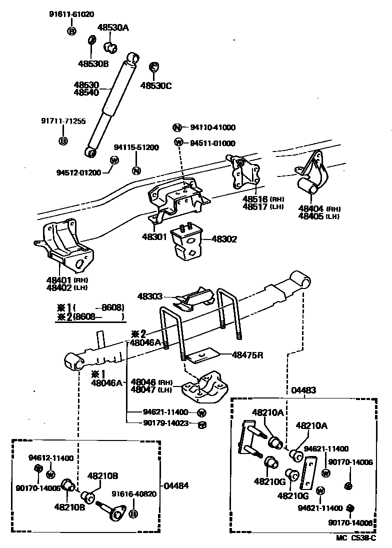
REAR SPRING & SHOCK ABSORBER

04483SHACKLE KIT, REAR SPRING
04484PIN KIT, REAR SPRING
sub04482-25020
48046ABOLT, U(FOR REAR SPRING)
L=170
L=180,L=180
L=200,L=200
L=190,L=190
48210SPRING ASSY, REAR RH
4-LEAF
6-LEAF
5-LEAF
4-LEAF
48210ABUSH(FOR REAR SPRING SHACKLE UPPER)
48210BBUSH(FOR REAR SPRING PIN)
48210GBUSH(FOR REAR SPRING SHACKLE LOWER)
48301BRACKET SUB-ASSY, HOLLOW SPRING
48303SEAT SUB-ASSY, HOLLOW SPRING
48401BRACKET SUB-ASSY, REAR SPRING, FRONT RH
48402BRACKET SUB-ASSY, REAR SPRING, FRONT LH
48475RPLATE, DISTANCE(FOR REAR)
48530ABSORBER ASSY, SHOCK, REAR RH
48530ABUSH(FOR REAR SHOCK ABSORBER)
48530BWASHER, REAR SHOCK ABSORBER CUSHION, NO.1
48530CWASHER, REAR SHOCK ABSORBER CUSHION, NO.2
48540ABSORBER ASSY, SHOCK, REAR LH
9017014006
main90170-14006
9017914023
main90179-14023
9161161020
main91611-61020
9161640820
main91616-40820
9171171255
main91711-71255
9411041000
main94110-41000
9411551200
main94115-51200
9451101000
main94511-01000
9451201200
main94512-01200
9461211400
main94612-11400
9462111400
main94621-11400
35 parts on this diagram · 4 diagrams in section