E
EPC Data

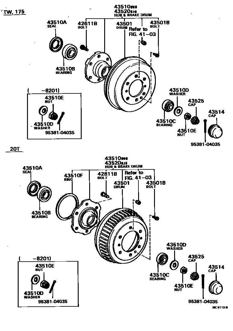
FRONT AXLE HUB

Parts diagram
4103
42611BBOLT, HUB (FOR FRONT AXLE)
main90942-02024i197903-198507
RH
main90942-02025i197903-198507
LH
main90942-02038i197903-198507
43501DRUM SUB-ASSY, FRONT BRAKE
main43512-25010i197903-198507
main43512-36020i197903-198006
main43512-36060i198006-198507
43501BBOLT, SET (FOR FRONT BRAKE DRUM SETTING)
main90113-10015i197903-198206
main90113-10035i197903-198507
43510HUB AND BRAKE DRUM ASSY, FRONT AXLE, RH
main43510-25030i197903-198507
main43510-36050i197903-198006
main43510-36051i198006-198408
main43510-36110i198408-198507
43510ASEAL, OIL (FOR FRONT AXLE HUB)
main90311-50003i197903-198507
main90311-68001i197903-198507
43510BBEARING, TAPERED ROLLER (FOR FRONT AXLE INNER BEARING)
main90366-35004i197903-198507
main90368-42045i197903-198507
43510CBEARING, TAPERED ROLLER (FOR FRONT AXLE OUTER BEARING)
main90368-22007i197903-198507
main90368-28001i197903-198507
43510DWASHER, CLAW (FOR STEERING KNUCKLE WASHER)
main90214-23004i197903-198507
main90214-27001i197903-198507
43510ENUT (FOR STEERING KNUCKLE)
main90170-22003i198201-198507
main90170-26001i198009-198507
main90171-22017i197903-198201
main90171-26001i197903-198009
43510FRING, SHAFT SNAP (FOR FRONT AXLE HUB)
main90520-99065i197903-198507
T=1.60
43514CAP, FRONT HUB GREASE
main43514-25010i198201-198507
main43514-36010i197903-198201
main43514-36030i197903-198507
43520HUB AND BRAKE DRUM ASSY, FRONT AXLE, LH
main43510-25030i197903-198507
main43520-36050i197903-198006
main43520-36051i198006-198408
main43520-36110i198408-198507
43525CAP, FRONT WHEEL ADJUSTING LOCK
main43525-25010i198201-198507
main43525-36010i198009-198507
9538104035

15 parts on this diagram · 2 diagrams in section

FRONT AXLE HUB — Toyota Parts Diagram with OEM Numbers & Prices | EPC Data