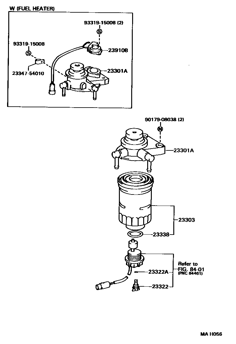
FUEL FILTER

23301ACAP ASSY, FUEL FILTER
COLD SPEC
COLD SPEC OR *EX-USSR
23303ELEMENT SUB-ASSY, FUEL FILTER
23322PLUG, DRAIN(FOR FUEL FILTER)
23322ARING, O(FOR DRAIN PLUG)
23338GASKET(FOR WARNING SWITCH)
23910BHEATER ASSY, FUEL
COLD SPEC
COLD SPEC OR *EX-USSR
COLD SPEC
8401
2334754010CLIP, CORD
main23347-54010
9017908038
main90179-08038
9331915008
main93319-15008
10 parts on this diagram · 2 diagrams in section