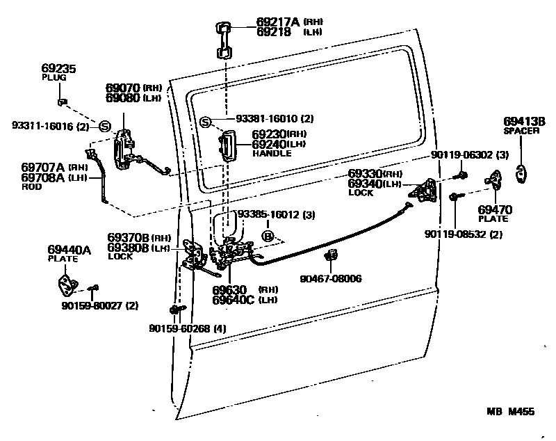
REAR DOOR LOCK & HANDLE

69070HANDLE ASSY, SLIDE DOOR, INSIDE, RH
BLUE,TRIM8#
BROWN,TRIM4#
69080HANDLE ASSY, SLIDE DOOR, INSIDE, LH
69217ACOVER, SLIDE DOOR OUTSIDE HANDLE, RH
69218COVER, SLIDE DOOR OUTSIDE HANDLE, LH
69230HANDLE ASSY, REAR DOOR OUTSIDE, RH
69235PLUG, SLIDE DOOR INSIDE HANDLE CASE
69240HANDLE ASSY, REAR DOOR OUTSIDE, LH
69330LOCK ASSY, REAR DOOR, RH
69340LOCK ASSY, REAR DOOR, LH
69370BLOCK ASSY, SLIDE DOOR, FRONT RH
69380BLOCK ASSY, SLIDE DOOR, FRONT LH
69413BSHIM, DOOR LOCK STRIKER
sub69413-28020
69440APLATE ASSY, SLIDE DOOR FRONT LOCK STRIKER
sub69440-46010
69470PLATE ASSY, SLIDE DOOR LOCK STRIKER
sub69470-95D00
69630CONTROL ASSY, SLIDE DOOR LOCK REMOTE
69640CCONTROL ASSY, SLIDE DOOR LOCK REMOTE, LH
W/O(RR SEAT)
69707AROD SUB-ASSY, SLIDE DOOR LOCKING CONTROL PUSH, RH
69708AROD SUB-ASSY, SLIDE DOOR LOCKING CONTROL PUSH, LH
9011906302
main90119-06302
9011908532
main90119-08532
9015960268
main90159-60268
9015980027
main90159-80027
9046708006
main90467-08006
9331116016
main93311-16016
9338116010
main93381-16010
9338516012
main93385-16012
26 parts on this diagram · 1 diagram in section