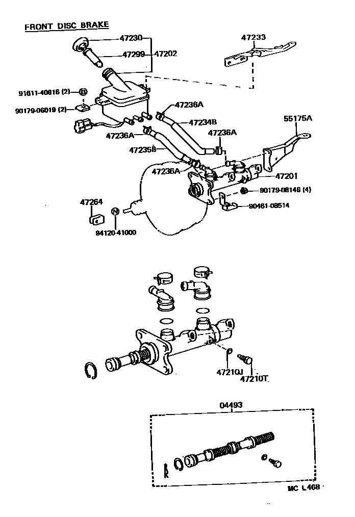
BRAKE MASTER CYLINDER

47201CYLINDER SUB-ASSY, BRAKE MASTER
SWEDEN SPEC
SWEDEN SPEC
47202RESERVOIR SUB-ASSY, BRAKE MASTER CYLINDER
SWEDEN SPEC
SWEDEN SPEC
47210JGASKET(FOR MASTER CYLINDER)
47210TBOLT(FOR BRAKE MASTER CYLINDER)
47230CAP ASSY, BRAKE MASTER CYLINDER RESERVOIR FILLER
47233BRACKET, RESERVOIR
47234BTUBE, RESERVOIR, NO.1
47235BTUBE, BRAKE MASTER CYRINDER RESERVOIR, NO.2
47236ACLIP(FOR RESERVOIR TUBE)
sub96134-51500
47264CLEVIS, MASTER CYLINDER PUSH ROD
47299STRAINER, BRAKE MASTER CYLINDER RESERVOIR
55175ASUPPORT SUB-ASSY, BRAKE MASTER CYLINDER
9017906019
main90179-06019
9017908146
main90179-08146
9046108514
main90461-08514
9161140616
main91611-40616
9412041000
main94120-41000
18 parts on this diagram · 2 diagrams in section