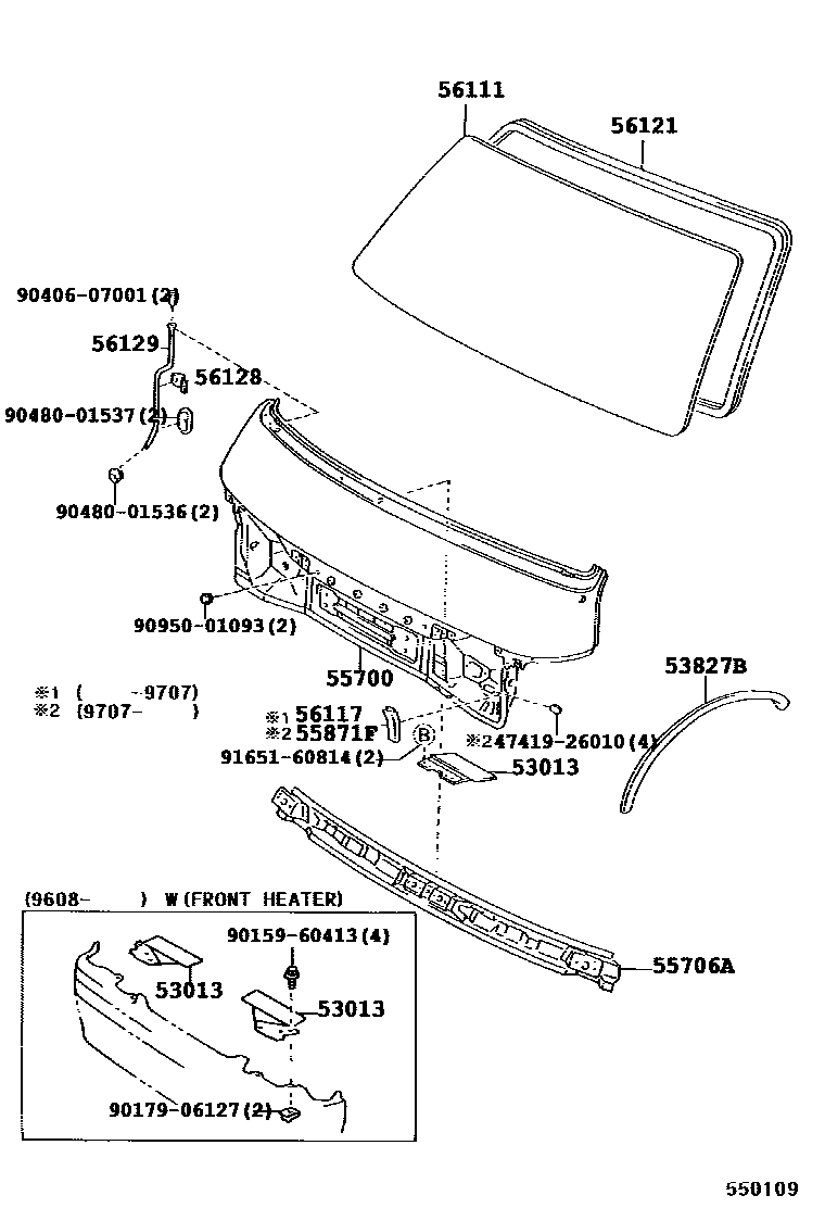
FRONT PANEL & WINDSHIELD GLASS

53013GUIDE SUB-ASSY, FRONT
W(FRONT HEATER),RH
main53013-26010iLH162..06S..5F;LH172..STD..DEFI;RZH113..GCC..EFI;RZH113..LHD..06S..GEN;LH174,184,RZH112..SG..(03S,12S,14S);LH162,172,RZH115..4D..(ARL,GCC)..(DSL,EFI)199808-199907
RH
main53013-95J00iLH113,125,RZH10#,112,114..DX,SGL,STD;LH10#,112,114,115,RZH113,115,125..03S,06S,12S,14S,15S198908-199808
W(FRONT HEATER)
main53014-26010iLH162..06S..5F;LH172..STD..DEFI;LH172..RHD..5D..03S;RZH113..5D..03S..EFI;RZH113..4D..GCC..EFI;LH172,174,RZH112..HRF;RZH113..06S..GCC..EFI;LH172,174,RZH115..GCC..(DS200008
LH
W(FRONT HEATER),LH
53827BPROTECTOR, FRONT FENDER SIDE PANEL
sub53827-36010
55700PANEL ASSY, FRONT
W(FENDER MIRROR)
HONG KONG OR SINGAPORE SPEC
W(FENDER MIRROR FOR LEFT)
HONG KONG OR SINGAPORE OR THAILAND SPEC
W(FENDER MIRROR)
sub55701-26211
sub47419-26010
W(ABS & SRS AIR BAG)
sub55701-26291
sub47419-26010
W(HEADLAMP LEVELING)
main55701-26340iLH162,172,RZH103,113..ARL;LH162,172,184,RZH103,113,125..RHD..SG..STD..(DSL,EFI)200008-200501
W(SRS AIR BAG)
W(TOP SHADE)
THAILAND SPEC
HIGH GRADE PACKAGE
55706AREINFORCEMENT SUB-ASSY, FRONT PANEL, UPPER
sub55706-26020
main55706-95J04iRZH112..RHD..03S;LH103,11#,125,162,172,174,184,RZH103,104,105,113,114,125,135,153..RHD198908-200208
55871FSEAL, AIR DUCT
W(FRONT HEATER)
56111GLASS, WINDSHIELD
*LAM,T=5.7,GREEN
main56111-26210iLH174,RZH115..10S,12S;LH103,113,115,125,RZH103,105,113,115,125..ARL,GCC199808-200302
*LAM,T=5.7,GREEN,W(SRS AIR BAG)
sub56111-26211
main56111-26211iRZH115..12S;LH154,164,166,176,RZH105,155..LHD;LH162,172,RZH103,113..RHD..06S..(DSL,EFI);LH162,172,174,184,RZH103,113,115,125..ARL,CIS,GCC200302-200508
*LAM,T=5.7,GREEN,W(SRS AIR BAG)
*LAM,T=5.7,GREEN
*ZT,T=5.0
main56111-95J21iRZH102..4D;RZH102..5D..03S;RZH102..LHD..06S;LH10#,11#,RZH104,112,114..GEN198908-199205
*TZT,T=5.0
sub56111-95J23
main56111-95J23iRZH113..STD..EFI;RZH103,113..ARL,GCC;LH10#,11#,125,RZH102,104,105,112,114,115,125..(GL,STD)..(ARL,GCC,GEN)198908-199608
*TL,T=5.7
sub56111-95J25
56117DAM, FRONT PILLAR, OUTER
main56117-95J00iRZH102..4D;RZH104..5F;RZH102..5D..03S;RZH104..LHD..4F;RZH102..LHD..06S;LH102,103,105,11#,RZH112,114..GEN198908-199308
W(FRONT HEATER)
sub61995-95700
W(FRONT HEATER)
56121WEATHERSTRIP, WINDSHIELD
main56121-95J03iRZH112..5D;LH174,184,RZH112..(03S,12S,14S,15S)..STD;LH10#,11#,125,16#,172,176,RZH10#,113,114,115,125..DX,GL,STD198908-200602
W(CHROME PLATED MOULDING)
main56121-95J04iRZH112..5D;LH174,RZH102..STD;RZH112,115..03S,15S;LH10#,11#,125,16#,172,176,184,RZH103,104,105,113,114,125198908-200602
56128SUPPORT, WINDSHIELD DRAIN HOSE
56129HOSE, WINDSHIELD DRAIN
main56129-95J00iLH172..03S..GL;RZH103..RHD..EFI;RZH115..15S..CBR;LH184,RZH102..GEN;RZH103,105,113..CBR;RZH105,115..STD..CIS;LH172..RHD..SRF..4D..STD..GEN..DSL;RZH113..4D..(03S,06S,198908-200208
4741926010PLUG, HOLE(FOR FRONT BRAKE)
main47419-26010
9015960413
main90159-60413
9017906127
main90179-06127
9040607001
main90406-07001
9048001536
main90480-01536
9048001537
main90480-01537
9095001093
main90950-01093
9165160814
main91651-60814
18 parts on this diagram · 2 diagrams in section