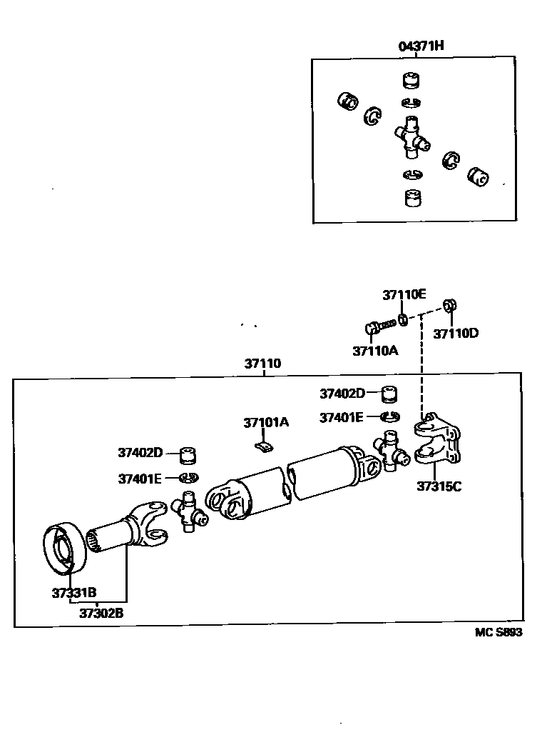
PROPELLER SHAFT & UNIVERSAL JOINT

37101APIECE, BALANCE, NO.1 (FOR PROPELLER SHAFT)
10G,L=20.7
20G,L=41.4
30G,L=62.2
2G,T=2.0
4G,T=2.0
6G,L=12.4
8G,L=16.6
12G,L=24.9
14G,L=29.0
16G,L=33.2
18G,L=37.3
22G,L=45.6
24G,L=49.7
26G,L=53.9
28G,L=58.1
37110ABOLT (FOR PROPELLER SHAFT)
*10-1.00PX27-13
37110DNUT (FOR PROPELLER SHAFT)
37110EWASHER (FOR PROPELLER SHAFT)
sub90560-10H00
37302BYOKE SUB-ASSY, RR PROPELLER SHAFT UNIVERSAL J0INT SLEEVE
37315CYOKE, NO.1, REAR PROPELLER SHAFT UNIVERSAL JOINT FLANGE
37331BCOVER SUB-ASSY, REAR PROPELLER SHAFT SLIDING SHAFT DUST
37401ERING, SNAP (FOR REAR PROPELLER SHAFT JOINT SPIDER BEARING)
T=2.29,MARK 1
T=2.31,MARK 2
T=2.33,NO MARK
T=2.35,BROWN
T=2.37,BLUE
T=2.39,MARK 6
T=2.41,MARK 7
T=2.43,MARK 8
T=2.45,MARK 9
T=2.47,MARK 10
T=2.49,MARK A
T=2.51,MARK B
T=2.53,MARK C
T=2.55,MARK D
T=2.57,MARK E
T=2.19,MARK D
T=2.21,MARK E
T=2.23,MARK F
T=2.25,MARK G
T=2.27,MARK H
T=2.125,MARK 1
T=2.175,MARK 2
T=2.225,MARK 3
T=2.275,MARK 4
T=2.325,MARK 5
T=2.375,MARK 6
T=2.425,MARK 7
T=2.475,MARK 8
T=2.375-2.425
T=2.425-2.475
T=2.475-2.525
37402DBEARING, REAR PROPELLER SHAFT UNIVERSAL JOINT SPIDER
RED PAINTED
11 parts on this diagram · 1 diagram in section